User Guide
Manuals
Brands
Multiquip Manuals
Other
MDR-9GH
31
32
33
34
35
36
37
38
39
40
P
A
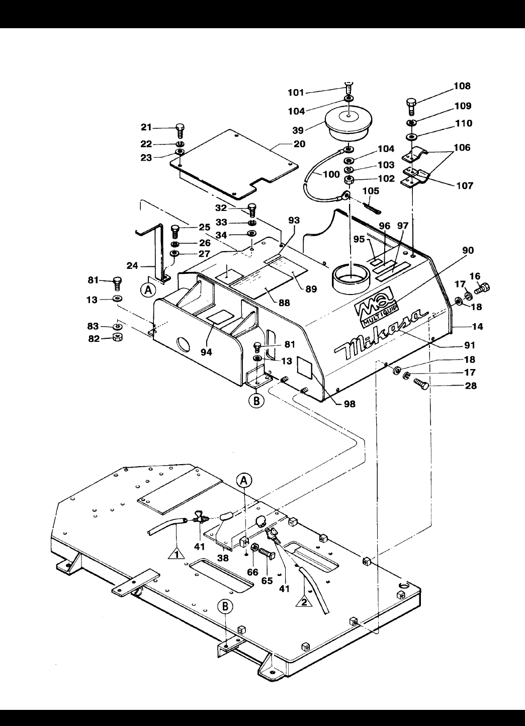
GE 40 — MQ-MIKASA MDR-9GH
VIBRA
T
OR
Y ROLLER — OPERA
TION AND P
ARTS MANU
AL — REV
. #0 (12/17/03)
MDR-9GH — FR
ONT CO
VER ASSY
.
FR
ONT CO
VER ASSY
.
1
...
...
38
39
40
41
42
...
...
106