user manual
Manuals
Brands
Multiquip Manuals
Marine Sanitation System
Marine Sanitation System MQ41TDH
51
52
53
54
55
56
57
58
59
60
P
A
GE 56 —MQ41TDH
TRASH PUMP — P
ARTS & OPERA
TION MANU
AL — REV
.
#3 (04/02/07)
HA
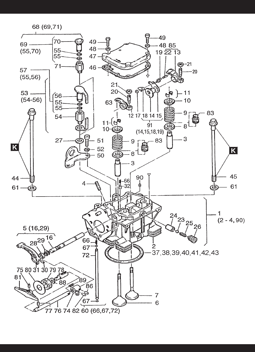
TZ 1D81Z ENGINE — CYLINDER HEAD ASSY
.
K= HO
T
TEMPERA
TURE FEL
T 100g
1
...
...
54
55
56
57
58
...
...
88