Manual
Manuals
Brands
Multiquip Manuals
Generators
DCA20SPXU4F
81
82
83
84
85
86
87
88
89
90
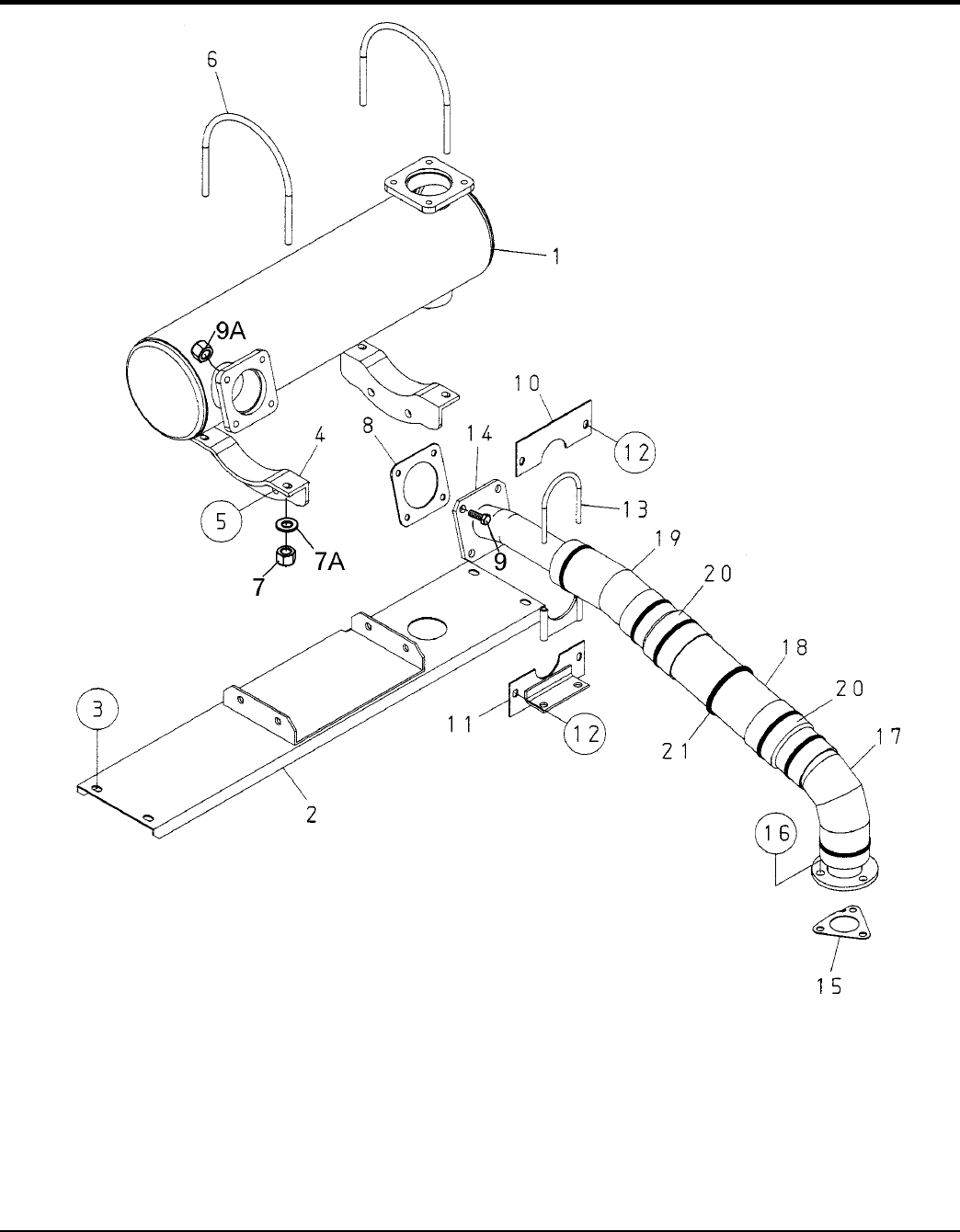
MUFFLER ASSY
.
1
...
...
80
81
82
83
84
...
...
104