Manual
Manuals
Brands
Multiquip Manuals
Generators
DCA20SPXU4F
71
72
73
74
75
76
77
78
79
80
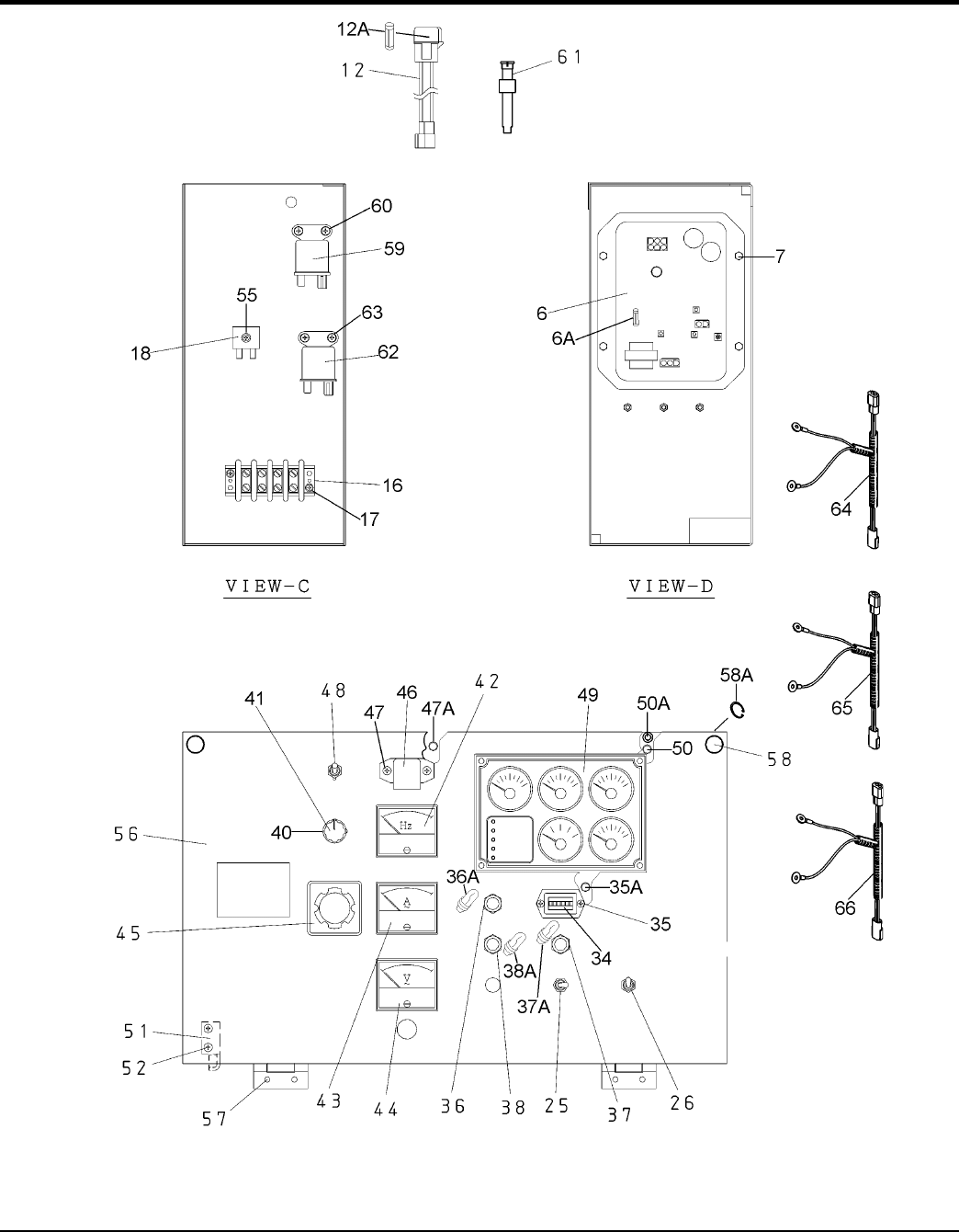
CONTROL BOX 2 ASSY
.
1
...
...
70
71
72
73
74
...
...
104