User Guide
Manuals
Brands
Multiquip Manuals
Other
DCA-600SSV
81
82
83
84
85
86
87
88
89
90
P
A
GE 86 — DCA-600SSV — OPERA
TION AND P
ARTS MANU
AL — REV
. #0 (07/13/09)
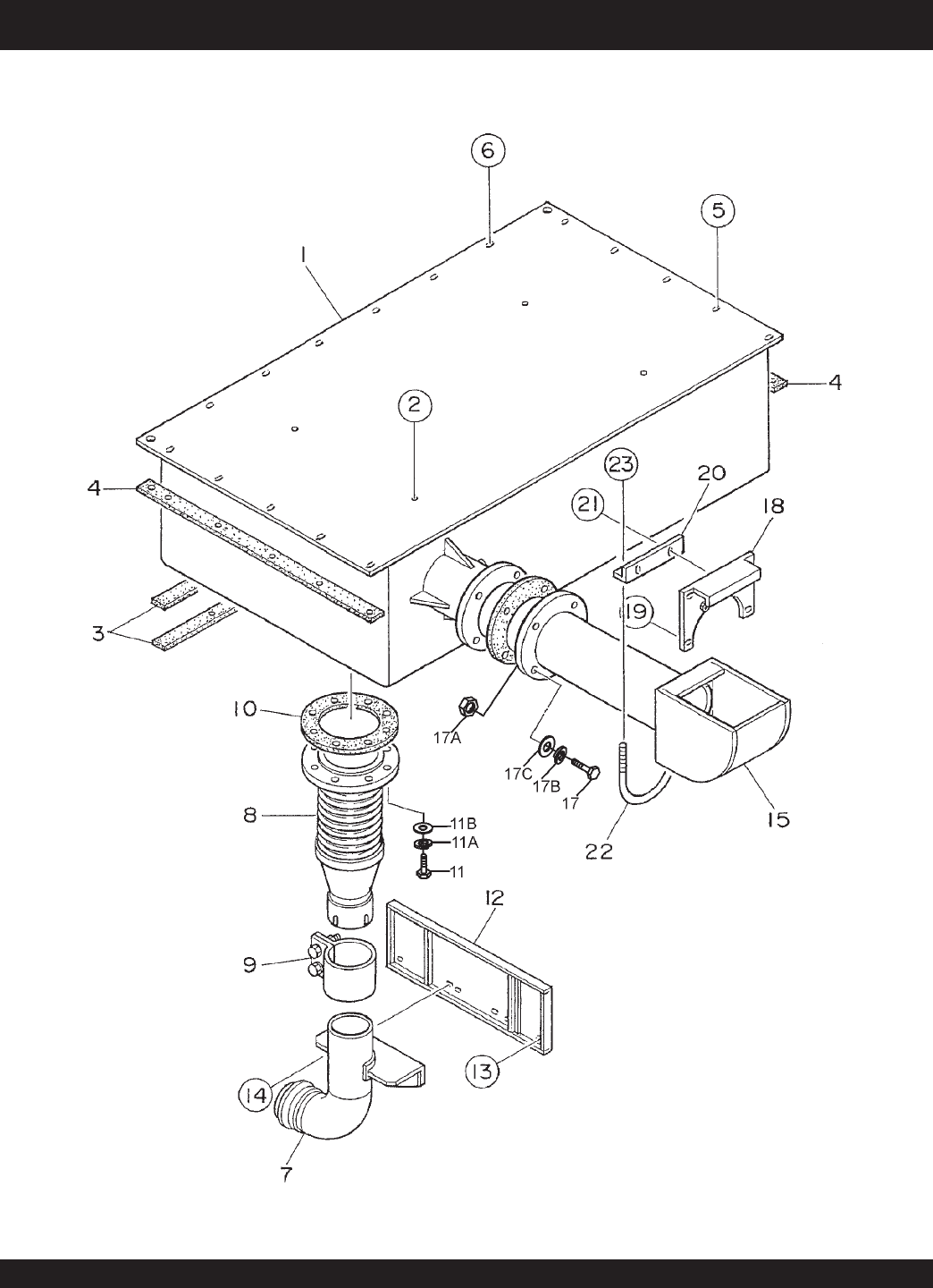
DCA-600SSV — MUFFLER ASSY
.
MUFFLER ASSY
.
1
...
...
84
85
86
87
88
...
...
108