User Guide
Manuals
Brands
Multiquip Manuals
Other
DCA-600SSV
81
82
83
84
85
86
87
88
89
90
P
A
GE 82 — DCA-600SSV — OPERA
TION AND P
ARTS MANU
AL — REV
. #0 (07/13/09)
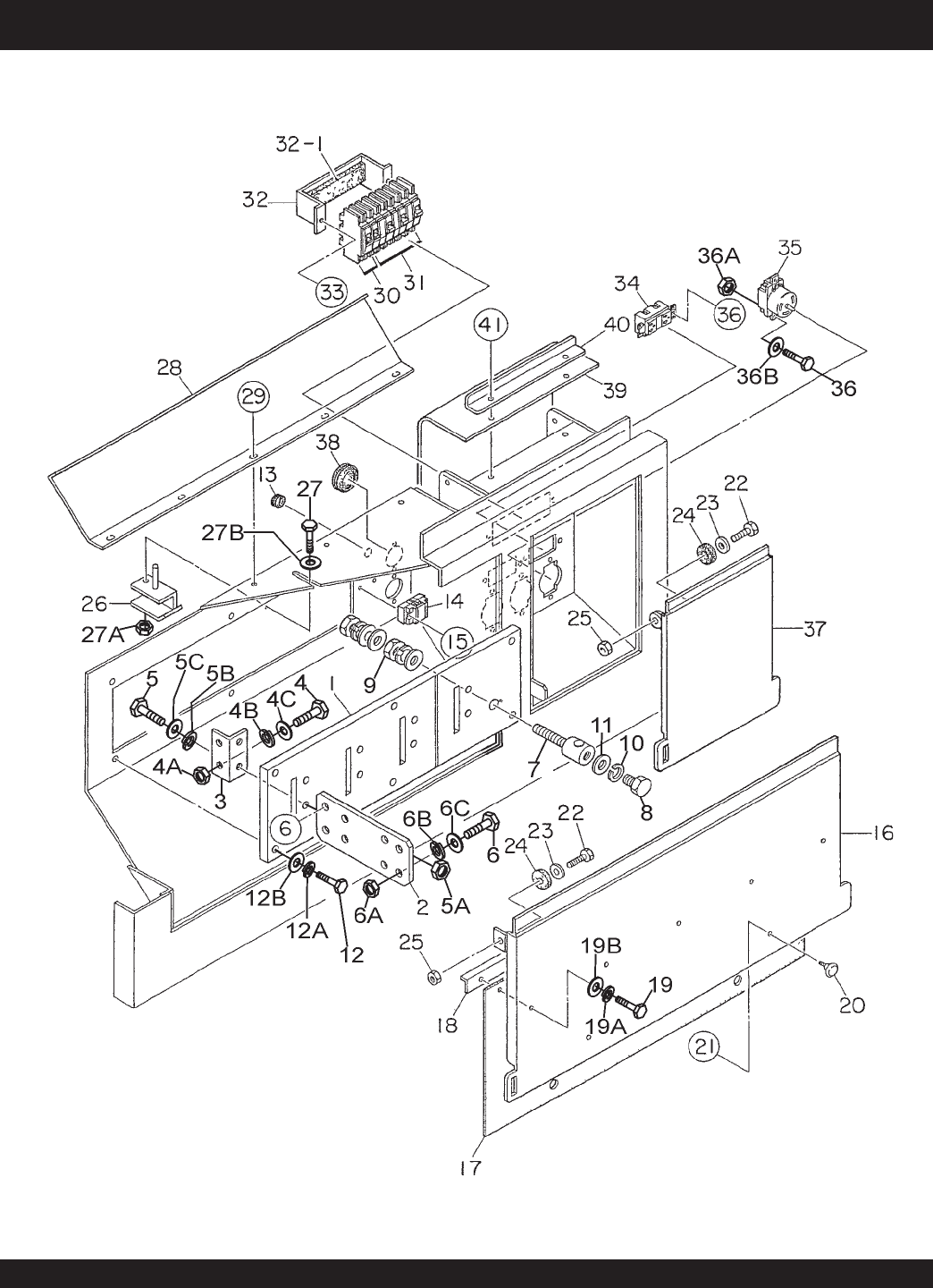
OUTPUT TERMINAL
ASSY
.
DCA-600SSV — OUTPUT
TERMINAL ASSY
.
(CONT
.)
1
...
...
80
81
82
83
84
...
...
108