User Guide
Manuals
Brands
Multiquip Manuals
Other
DCA-600SSV
71
72
73
74
75
76
77
78
79
80
P
A
GE 74 — DCA-600SSV — OPERA
TION AND P
ARTS MANU
AL — REV
. #0 (07/13/09)
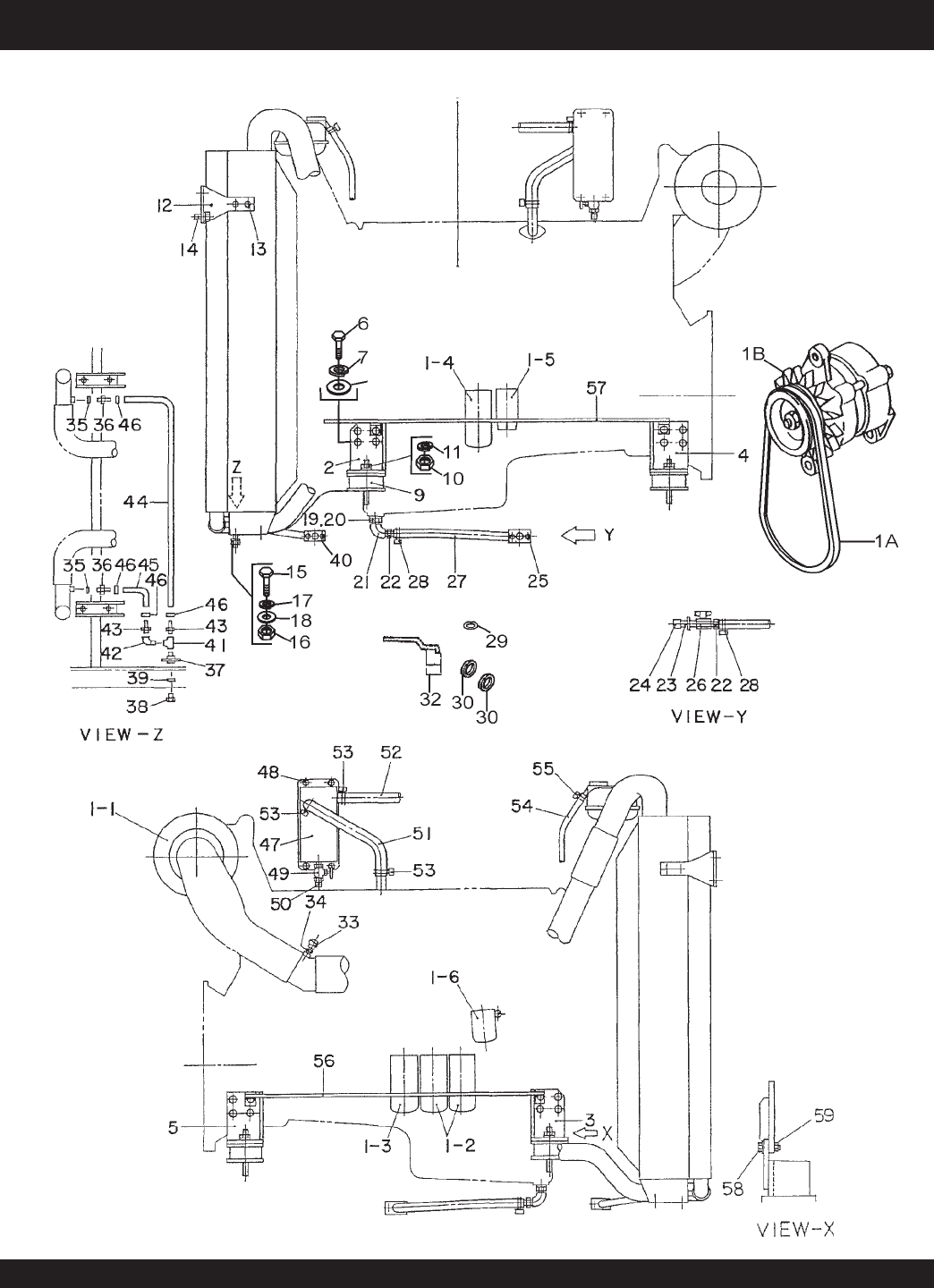
DCA-600SSV — ENGINE AND RADIA
T
OR ASSY
.
ENGINE AND RADIA
TOR ASSY
.
1
...
...
72
73
74
75
76
...
...
108