User Guide
Manuals
Brands
Multiquip Manuals
Other
DCA-600SSV
61
62
63
64
65
66
67
68
69
70
P
A
GE 66 — DCA-600SSV — OPERA
TION AND P
ARTS MANU
AL — REV
. #0 (07/13/09)
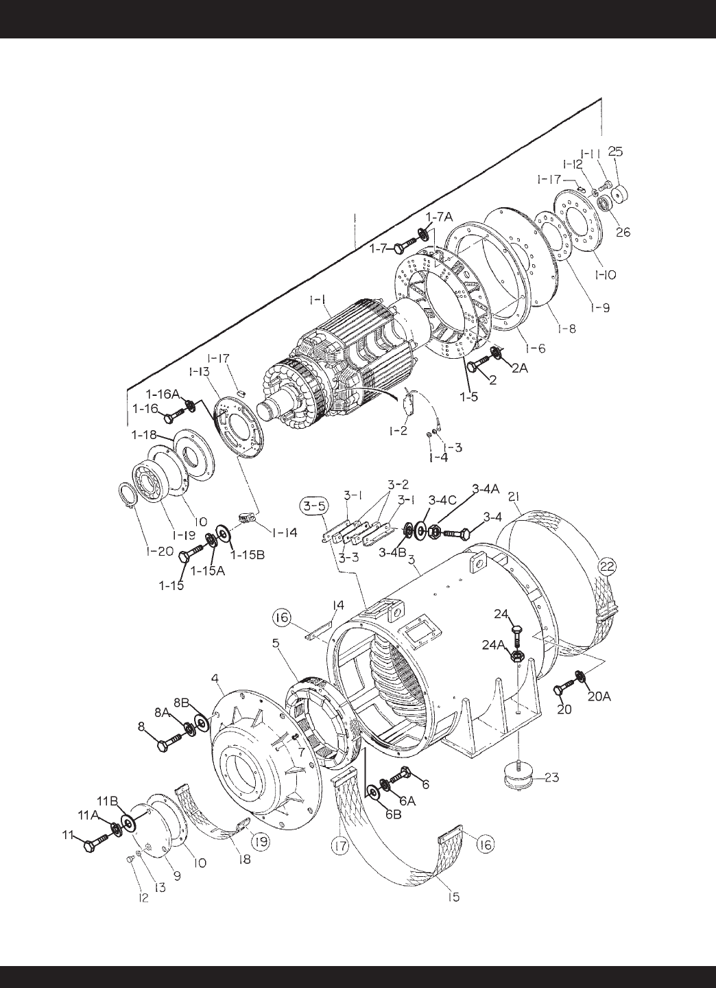
DCA-600SSV — GENERA
T
OR ASSY
.
(CONT
.)
GENERA
T
OR ASSY
.
1
...
...
64
65
66
67
68
...
...
108