Specifications
Manuals
Brands
Multiquip Manuals
Other
DCA-45SSIU3
69
70
71
72
73
74
75
76
77
78
P
A
GE 74 — DCA45SSIU3 50 HZ GENERA
T
OR • OPERA
TION AND P
ARTS MANU
AL — REV
.
#2 (12/19/08)
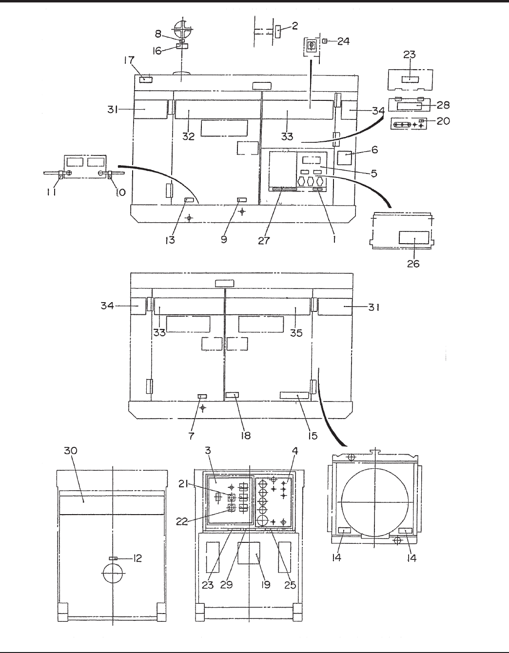
NAMEPLA
TE AND DECALS ASSY
.
1
...
...
72
73
74
75
76
77
...
78