User Guide
Manuals
Brands
Multiquip Manuals
Other
CDA45SSIU3
51
52
53
54
55
56
57
58
59
60
P
A
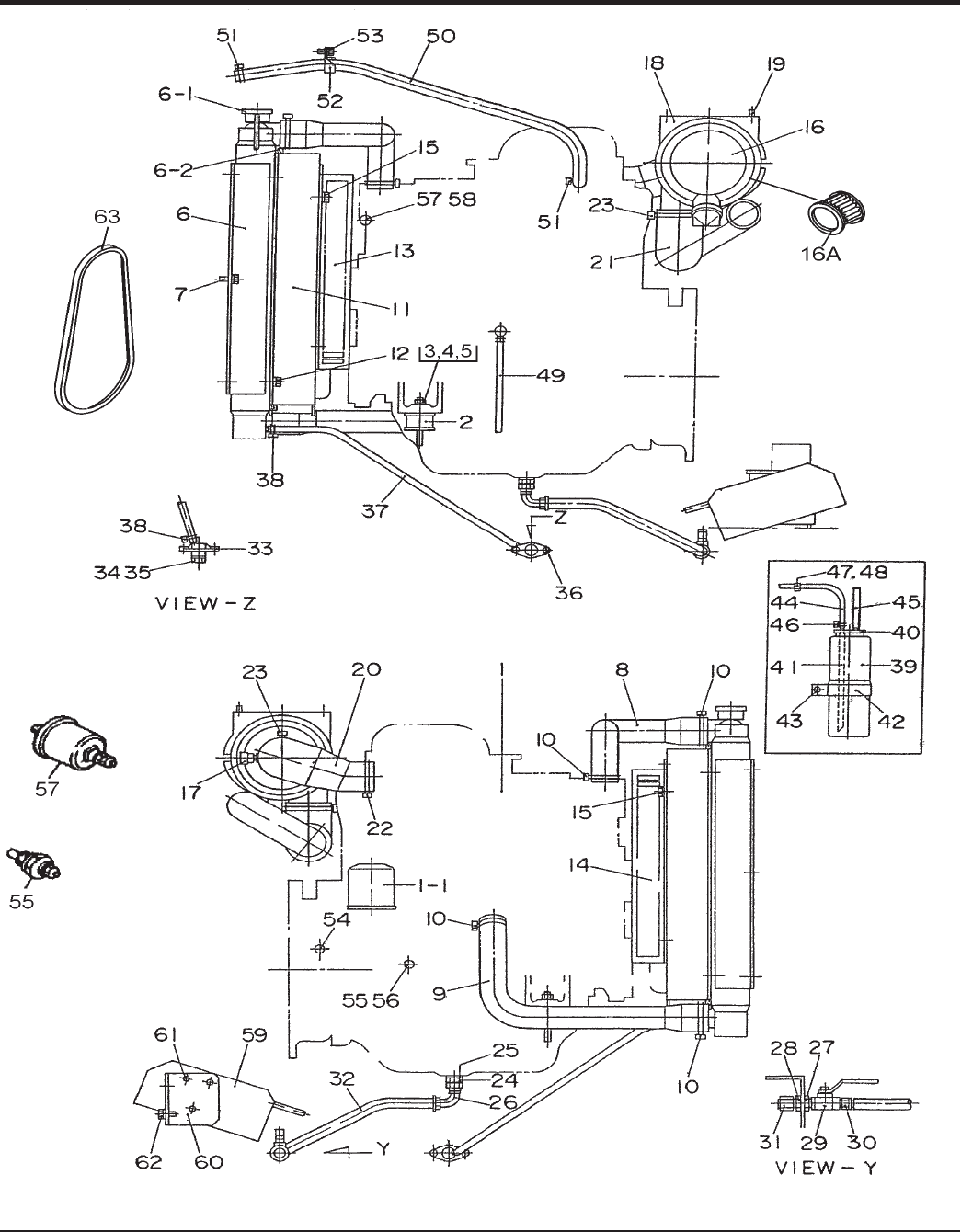
GE 54 — DCA45SSIU3 50 HZ GENERA
T
OR • OPERA
TION AND P
ARTS MANU
AL — REV
.
#2 (12/19/08)
ENGINE AND RADIA
TOR ASSY
.
1
...
...
52
53
54
55
56
...
...
78