User guide
Manuals
Brands
Multiquip Manuals
Equipment
BHN
51
52
53
54
55
56
57
58
59
60
P
A
GE 60 — BHN RIDE-ON PO
WER
TRO
WEL— P
ARTS & OPERA
TION MANU
AL — REV
.
#1 (10/17/02)
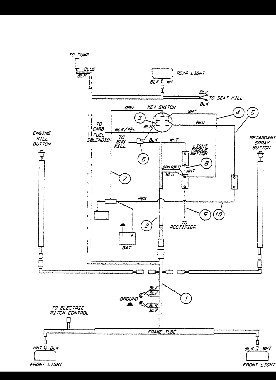
HOND
A WIRING
DIA
GRAM
ASSY
.
BHN RIDE-ON PO
WER
TRO
WEL— HOND
A
WIRING DIA
GRAM ASSY
.
1
...
...
58
59
60
61
62
63
...
64