Blower Instructions
Manuals
Brands
Miele Manuals
Kitchen Appliance Package
Miele MasterCool Series MIRERADWRH380
1
2
3
4
5
6
7
8
9
10
Table Of Contents
Contents
IMPORTANT SAFETY INSTRUCTIONS 3
Functional description 5
Internal blower DRIB 5
External blower DREB 5
Appliance dimensions 6
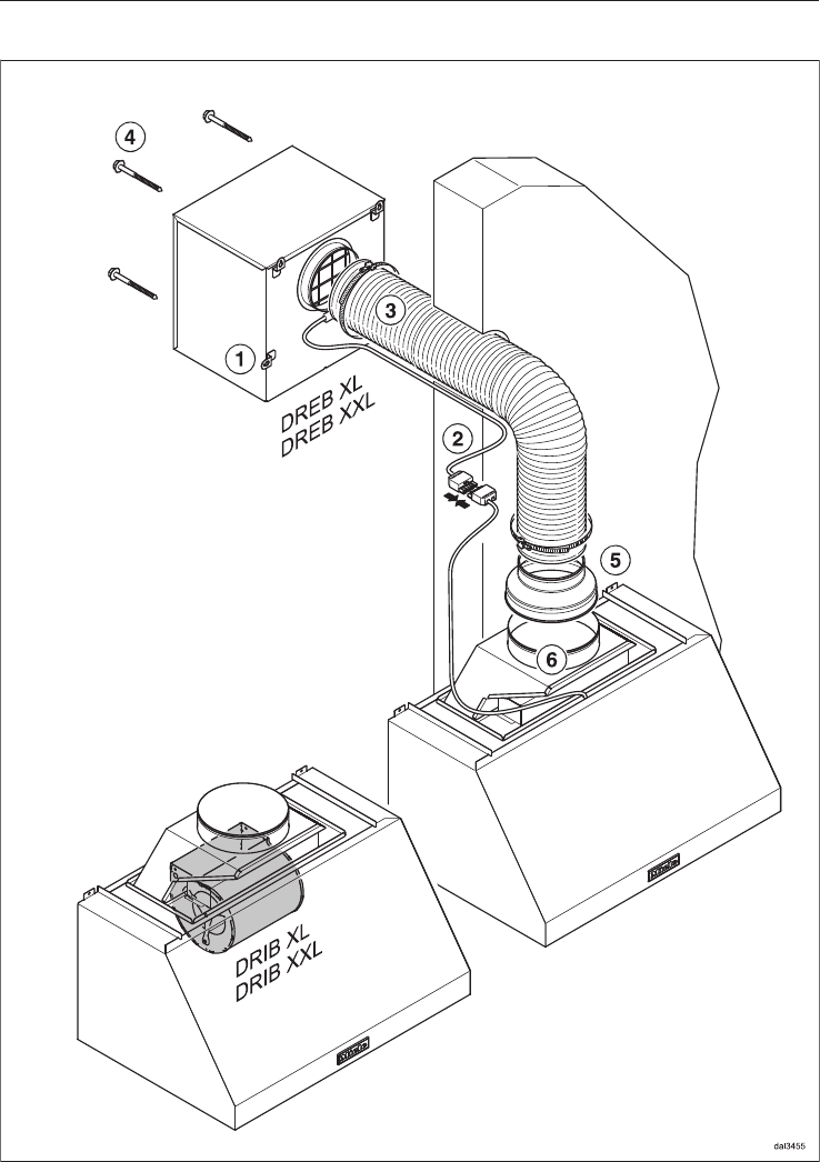
Installation 7
Installation DRIB XL/ XXL into the range hood 9
Installation DREB XL/ XXL on an external wall 9
Electrical connection 9
Air extraction 10
Electrical connection 11
After Sales Service 12
Caring for the environment 13
Installation
8
1
...
...
6
7
8
9
10
...
...
16