Datasheet

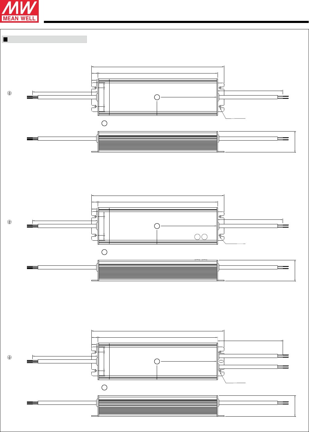
Case No.994C Unit:mm
Tcase
Tcase
Tcase
tc
tc
tc
File Name:HLG-240H-SPEC 2018-12-17
240W Constant Voltage + Constant Current LED Driver
HLG-240H series
MECHANICAL SPECIFICATION
244.2
244.2
220.2
220.2
12
12
9.6
9.6
300 20±
300 20±
FG (Green/Yellow)
FG (Green/Yellow)
FG (Green/Yellow)
38.8
38.8
AC/L(Brown)
AC/L(Brown)
AC/L(Brown)
AC/N(Blue)
AC/N(Blue)
AC/N(Blue)
9.4
9.4
9.4
9.4
34.2
34.2
68
68
300 20±
300 20±
110.1
110.1
110.1
34
34
34
244.2
220.2
12
9.6
300 20±
38.8
9.4 9.4
34.2
68
300 20±
Vo
ADJ.
Io
ADJ.
ψ×4.2 4PL
ψ×4.2 4PL
: Max. Case Temperature
: Max. Case Temperature
: Max. Case Temperature
tc
tc
tc
Blank/D-Type
B-Type
A-Type
SJOW 17AWG&H05RN-F 1.0mm *3C
2
ψ×4.2 4PL
(SJOW 14AWG*2C for 12V~20V)
SJOW 17AWG&05RN-F 1.0mm *2C
2
SJOW 17AWG&H05RN-F 1.0mm *3C
2
(SJOW 14AWG*2C for 12V~20V)
SJOW 17AWG&05RN-F 1.0mm *2C
2
SJOW 17AWG&H05RN-F 1.0mm *3C
2
(SJOW 14AWG*2C for 12V~20V)
SJOW 17AWG&05RN-F 1.0mm *2C
2
DIM-(White)
DIM+(Blue)
+V(Red)
-V(Black)
+V(Red)
-V(Black)
+V(Red)
-V(Black)
UL2517 20AWG*2C