Data Sheet

200W Constant Current Mode LED Driver
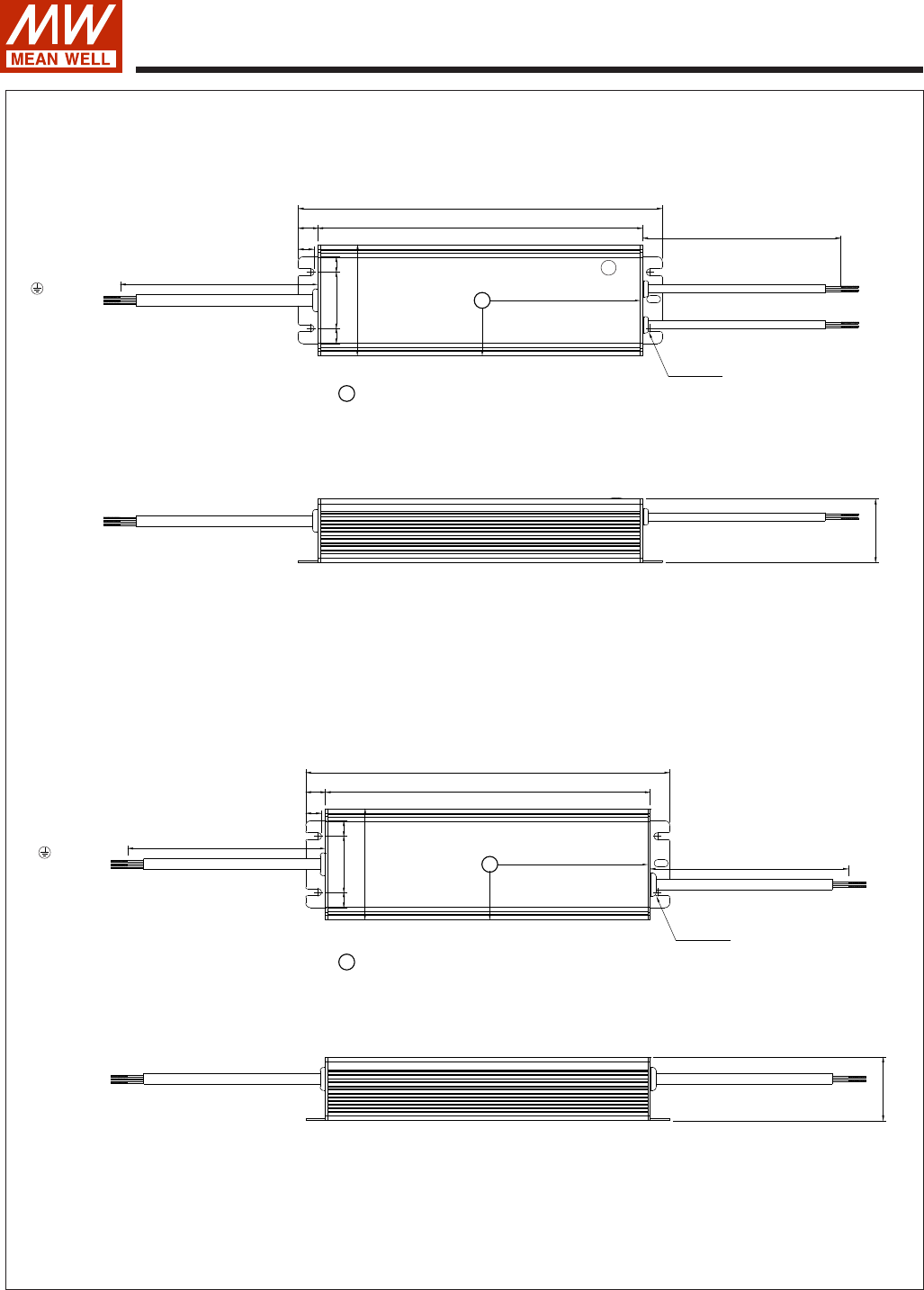
HLG-185H-C seri e s
File Name:HLG-185H-C-SPEC 2019-10-15
※ AB-Type
tc
Io
ADJ.
300±20
38.8
228
204
12
9.6
9.49.4 34.2
68
300±20
FG (Green/Yellow)
AC/L(Brown)
AC/N(Blue)
102
34
ψ4.2×4PL
‧ : Max. Case Temperature
tc
※ D-Type
tc
300±20
FG (Green/Yellow)
38.8
228
204
AC/L(Brown)
AC/N(Blue)
12
9.6
9.49.4 34.2
68
300±20
102
T case
34
ψ4.2×4PL
‧ : Max. Case Temperature
tc
SJOW 17AWG&H05RN-F 1.0mm²x3C
SJOW 17AWG&H05RN-F 1.0mm²x2C
DIM-(Black)
DIM+(Gray)
+V(Brown)
-V(Blue)
SJOW 17AWGx3C
+V(Brown)
-V(Blue)
SOOW 17AWG&H07RN-F 1.0mm²x2C
SJOW 17AWG&H05RN-F 1.0mm²x2C(for others)
(for HLG-185H-C500)
SOOW 17AWG&H07RN-F 1.0mm²x2C
SJOW 17AWG&H05RN-F 1.0mm²x2C(for others)
(for HLG-185H-C500)










