Data Sheet

Installation Manual
Please refer to : http://www.meanwell.com/manual.html
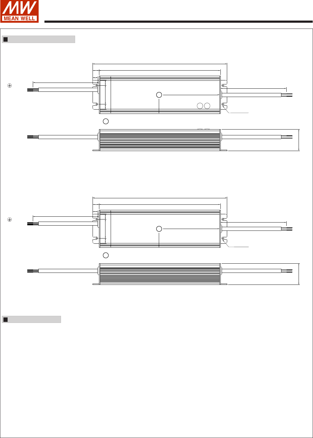
Mechanical Specification
Case No.994H Unit:mm
※ IP65 rated. Output voltage and constant current level can be adjusted through internal potentiometer.
(Can access by removing the rubber stopper on the case.)
A-Type: HEP-240-_A(standard model)
※IP68 rated. Cable for I/O connection.
Blank-Type: HEP-240(optional model)
244.2
244.2
220.2
220.2
12
12
9.6
9.6
+V(Red)
+V(Red)
-V(Black)
-V(Black)
300±20
300±20
FG (Green/Yellow)
FG (Green/Yellow)
38.8
38.8
AC/L(Brown)
AC/L(Brown)
AC/N(Blue)
AC/N(Blue)
9.4
9.4
9.4
9.4
34.2
34.2
68
68
300±20
300±20
Vo
ADJ.
Io
ADJ.
SJTW 14AWG×2C
SJTW 14AWG×2C
SJTW 18AWG×3C
SJTW 18AWG×3C
ψ4.2×4PL
ψ4.2×4PL
110.1
110.1
3434
tc
tc
‧ : Max. Case Temperature
tc
‧ : Max. Case Temperature
tc
240W Single Output Switching Power Supply
HEP-240 series
File Name:HEP-240-SPEC 2020-06-12




