Datasheet

Line Length vs. Data Rate
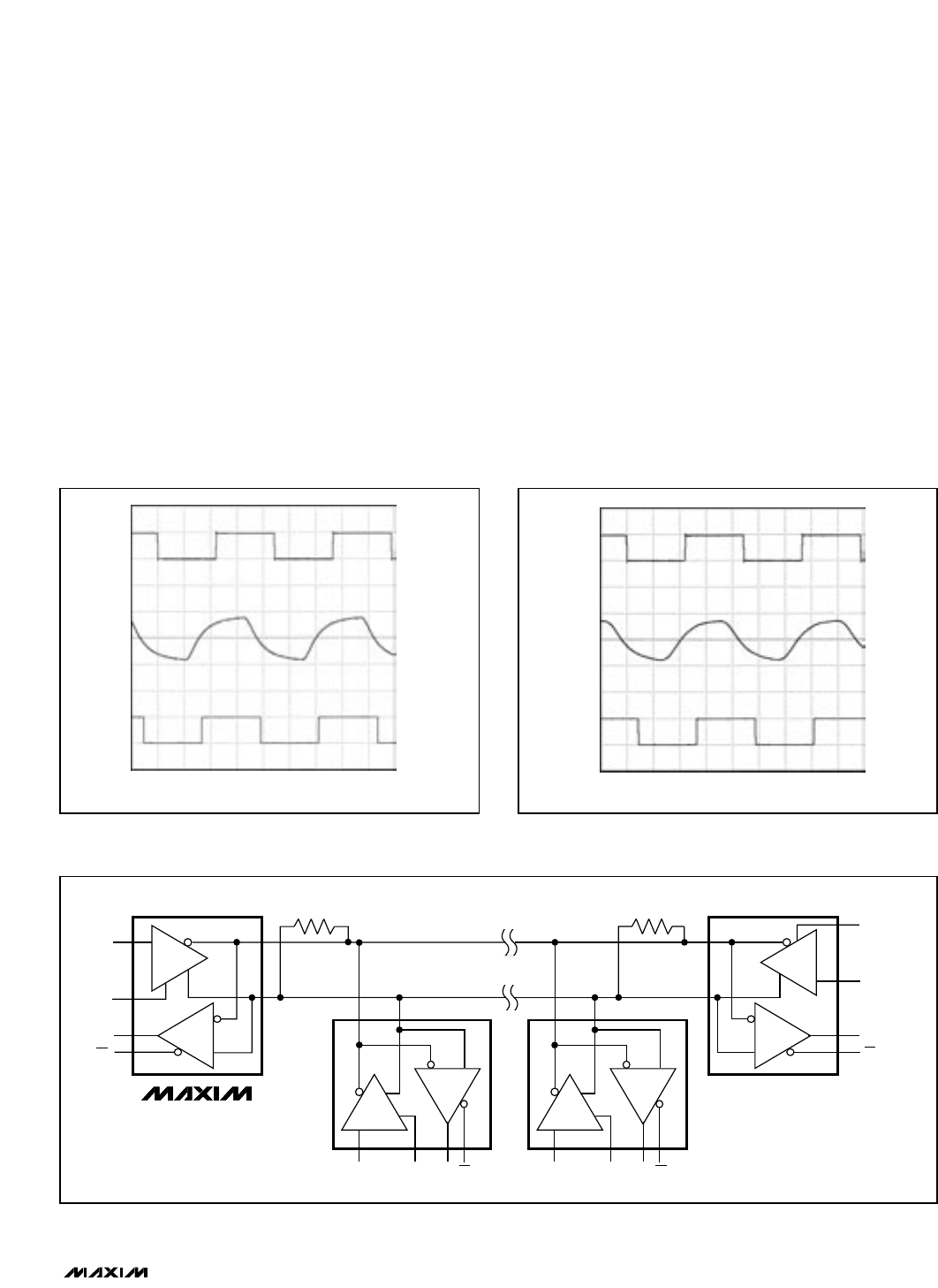
The RS-485/RS-422 standard covers line lengths up to
4000 feet. For line lengths greater than 4000 feet, see
Figure 23.
Figures 19 and 20 show the system differential voltage
for the parts driving 4000 feet of 26AWG twisted-pair
wire at 110kHz into 120Ω loads.
Typical Applications
The MAX481, MAX483, MAX485, MAX487–MAX491, and
MAX1487 transceivers are designed for bidirectional data
communications on multipoint bus transmission lines.
Figures 21 and 22 show typical network applications
circuits. These parts can also be used as line
repeaters, with cable lengths longer than 4000 feet, as
shown in Figure 23.
To minimize reflections, the line should be terminated at
both ends in its characteristic impedance, and stub
lengths off the main line should be kept as short as possi-
ble. The slew-rate-limited MAX483 and MAX487–MAX489
are more tolerant of imperfect termination.
MAX481/MAX483/MAX485/MAX487–MAX491/MAX1487
Low-Power, Slew-Rate-Limited
RS-485/RS-422 Transceivers
______________________________________________________________________________________ 13
DI
V
Y
-V
Z
RO
5V
0V
1V
0V
-1V
5V
0V
2µs/div
DI
V
Y
-V
Z
RO
5V
0V
1V
0V
-1V
5V
0V
2µs/div
DI RO DE
RE
A
B
RE
RERE
RO
RO
RO
DI
DI
DI
DE
DE
DE
D
D
D
R
R
R
BB
B
AAA
120Ω
120Ω
D
R
MAX481
MAX483
MAX485
MAX487
MAX1487
Figure 19. MAX481/MAX485/MAX490/MAX491/MAX1487 System
Differential Voltage at 110kHz Driving 4000ft of Cable
Figure 20. MAX483, MAX487–MAX489 System Differential
Voltage at 110kHz Driving 4000ft of Cable
Figure 21. MAX481/MAX483/MAX485/MAX487/MAX1487 Typical Half-Duplex RS-485 Network










