Installation manual
Manuals
Brands
Master Manuals
Do-It-Yourself tools
MGH5000DI
27
28
29
30
31
32
33
34
35
36
32
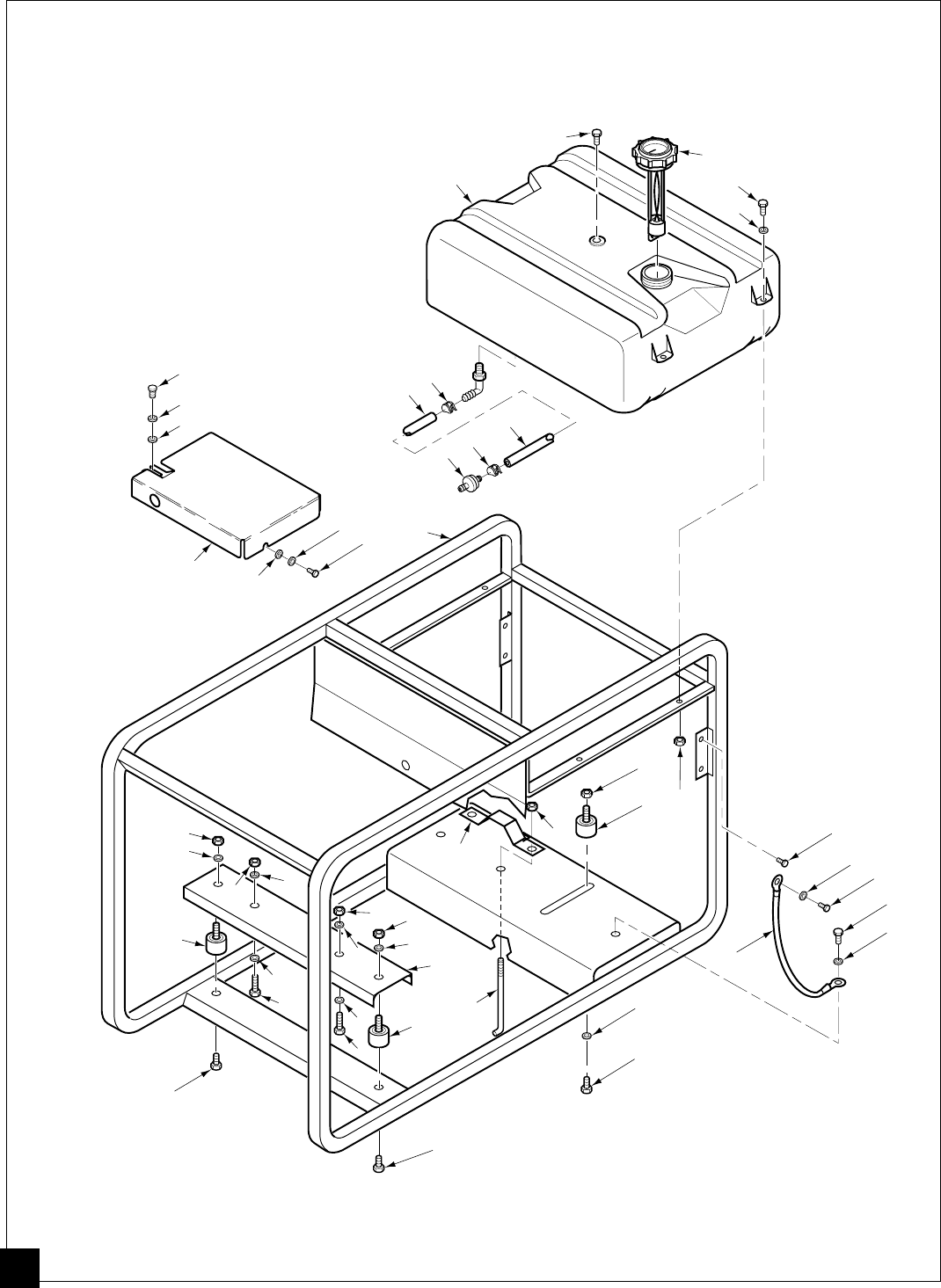
ILLUSTRA
TED
P
ARTS LIST
For Models
MGH4000A,
MGH5000A,
MGH6000, and
MGH7000
Fuel T
ank and
Roll Cage
9
10
11
12
13
15
15
15
13
13
17
17
18
11
11
11
16
11
16
21
20
19
16
14
23
14
23
16
16
16
16
14
23
22
FUEL
F
1
3
2
4
24
7
8
6
6
7
27
24
26
5
25
1
...
...
30
31
32
33
34
35
...
36