Operator's manual Manual

15
Gas sampling and conditioning technology 6-1.2.1ME
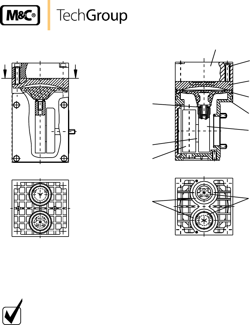
Figure 6 Sectional drawing N3/5 KPE
Figure 7 Sectional drawing N9 PE
Parts and tools required:
Valve plates, sealing rings (2 for each pump head) and structured diaphragm(s)
Screwdriver no. 1
NOTE!
Always change valve plates, diaphragm and sealing rings at the same
time.
Change the diaphragm, valve plates and sealing rings in the following sequence:
Remove pump head
Change diaphragm
Change valve plates and sealing rings
Refit pump head
Proceed as follows:
14.1 REMOVING THE PUMP HEAD TYPE N 3/5/9 KPE/KP18
Make a mark on the head plate 3 (N3/5 with metal frame), intermediate plate 2 and housing 1
with a felt-tip pen. This helps avoid incorrect assembly later
Undo the screws 4 in the head plate with the intermediate plate off the pump housing.
3
4
2
9
1
13
16
14
11
7
8










