User Guide

NOTE: DIAGRAMS & ILLUSTRATIONS ARE NOT TO SCALE
14
Exhaust
Port
Quick
Disconnect
Straight “PL-vent”
Pipe
Combustion
Air Inlet
Collar
Metal Fresh
Air Pipe
Lytherm
Gasket
Wall
Thimble
45˚
Elbow
Holes through
the Wall for the
Thimble &
Fresh Air Pipe
45
o
Degree
Elbow Joint
for Fresh
Air Pipe
12” (305 mm)
Min. From
Outer Wall
12”(305 mm)
From
Ground or
Other Surface
Silicone sealant and 3 screws required on the first vent connection.
Secure and seal the remaining vent sections per vent manufacturers instructions.
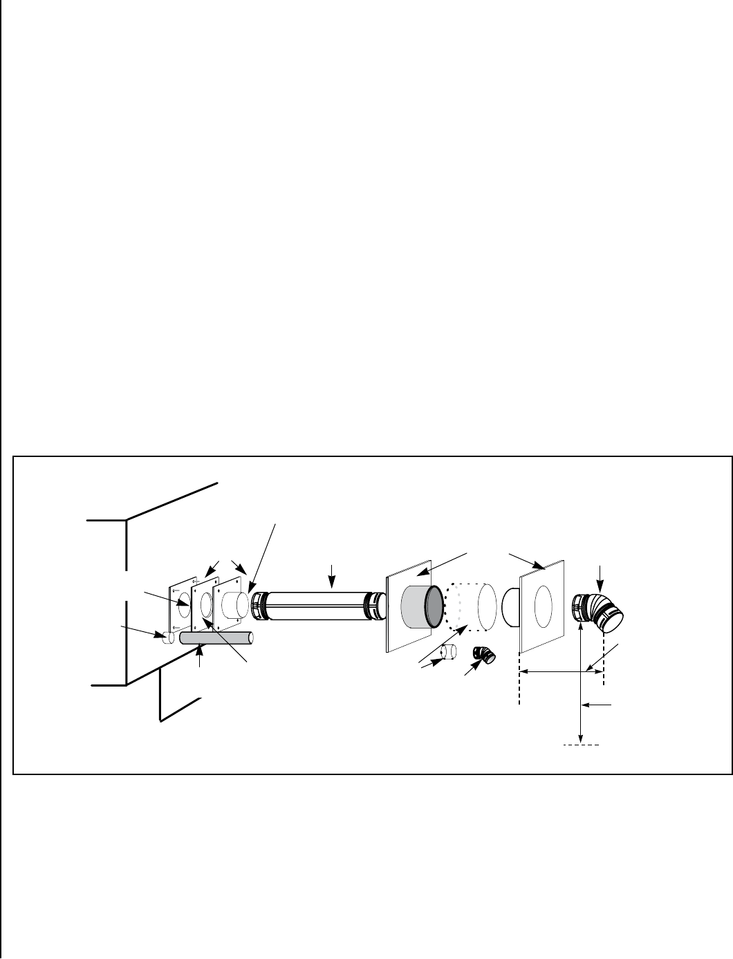
Standard Horizontal Vent Installation
Installing Montage™ 32FS
All PL Venting Components must be listed to UL 641 or ULC S609
1. Locate the proper position for the listed type “PL” wall thimble. Avoid
cutting wall studs when installing your pipe. Use a saber saw or keyhole
saw to cut the proper diameter hole through the wall to accommodate
the wall thimble. Use extreme caution to avoid cutting into power lines
within the wall of the home. The hole size will depend on the brand
of pellet vent that you are using. Install the wall thimble in the hole.
2. ALL INTERLOCKING PIPE CONNECTIONS MUST BE SEALED GAS-
TIGHT AND SECURED TOGETHER PER VENT MANUFACTURERS
INSTRUCTIONS.
Position the stove approximately 12” (305 mm) from the wall on the
floor pad. Push the “PL” pipe through the wall thimble. Squeeze a
bead of high temperature silicone (RTV) sealer around the end of the
machined portion of the 3” (76 mm) pipe connector on the back of
the stove. Firmly push on a section of “PL” pipe until inner pipe liner
pushes into the bead of RTV sealer.
3. Push the stove with pipe attached towards the wall (the pipe will go
through the wall thimble). Do not position the back of the stove closer
than 2” (51 mm) from the wall (see Clearances, Page 5).
4. Install listed type “PL” 45 degree elbow with rodent screen or cap on
outside end of pipe. The rodent screen should be no less than 1/2” (13
mm) mesh and may clog with soot and ash if left unattended during
the burn season.
5. If the installation includes a source of outside combustion air; cut a
separate hole through the wall for the fresh air tube. This tube should
be 1-5/8” (42 mm) minimum diameter, steel only. Connect outside
air pipe to air inlet on stove. This tube must be terminated with a 45
degree elbow or hood.
Notes:
• Combustion air may also be drawn from a vented crawl space under
the home.
• All joints for connector pipe are required to be fastened together per the
vent manufacturers instructions. If vented horizontally, joints must be
made gas-tight (air tight, sealed connection) in a manner as specified
on this page (see instruction #2). INSTALL VENT AT CLEARANCES
SPECIFIED BY THE VENT MANUFACTURER.
• Greater back clearance will improve the ease of serviceability of the
stove.
• The end of the exhaust pipe must extend a minimum of 12” (305 mm)
from the outside of the building.
Back of
Stove
Figure 15 - Horizontal Vent Installation










