Quick Start Guide

18
PT-PT
RO
SV
TR
RU
AR
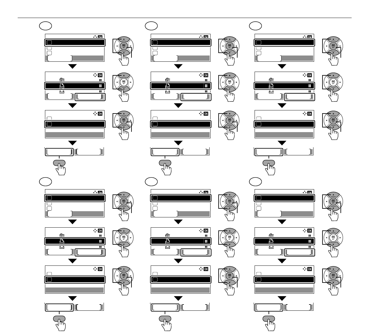
Menu:
Canc. Trabalho
01
Detalhe
02
Lista Canc Trabs:
Canc. Tra. Impr.
Contin.
01
Canc. Envio Tra.
02
Canc. Arm. Trab.
03
Canc. Tra. Impr.:
0008
0009
0010
doc00001234
doc001.doc
doc002.doc
Contin. Menu
1
1
2
1
2
2
Sim Não
Meniu:
Anulare Lucrare
01
Detaliu
02
Lst. anul. lucr.:
Anulare printare
Reluare
01
Anulare transm.
02
Anulare stocare
03
Anulare printare:
0008
0009
0010
doc00001234
doc001.doc
doc002.doc
Reluare Meniu
1
1
2
1
2
2
Da Nu
:
 
01
02
 . !"#.:
$%&' %("'
)*#+.
01
$%&" *",
02
$%&" -*"&%&/
03
 :
0008
0009
0010
doc00001234
doc001.doc
doc002.doc
. 
1
1
2
1
2
2
 
Meny:
Jobb avbrutet
01
Uppgift
02
Lista avbr. Jobb:
Avbryt utskrift
Uppta
01
Avbr skicka jobb
02
Avbr lagra jobb
03
Avbryt utskrift:
0008
0009
0010
doc00001234
doc001.doc
doc002.doc
Uppta Meny
1
1
2
1
2
2
Ja Nej
Menü:
 ptal
01
Ayrnt
02
45 4ptal Listesi:
Bask6 i5i iptal
Devam
01
Gönder.45i iptal
02
Saklnan i5 4ptal
03
Bask ii iptal:
0008
0009
0010
doc00001234
doc001.doc
doc002.doc
Devam Menü
1
1
2
1
2
2
Evet Hayr
:
 
01
02
789;< =>?8@ CE;<:
=>?8@ CE;< FH8I<
JKMNO8P
01
=>?8@ CE;< =QK8R
02
=>?8@ CE;< TUVXY
03
:  
0008
0009
0010
doc00001234
doc 001. doc
doc 002. doc
 
1
1
2
1
2
2
 










