Installation Sheet

55
Faucet Installation Procedure
Installer Tip:
Shut off main water supply before installing new faucet.
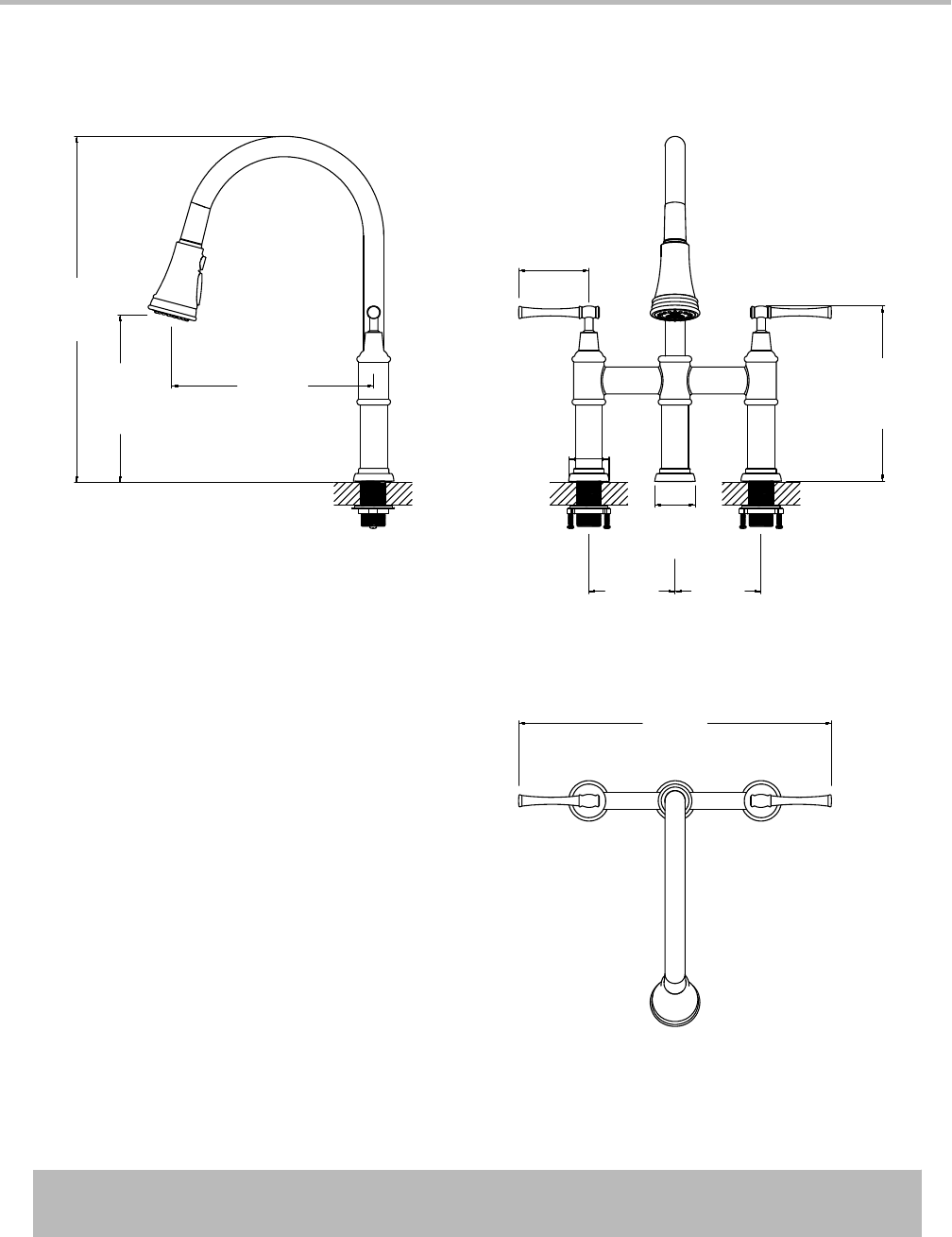
7 3/4"
(196.75mm)
9 3/8"
(239.07mm)
16"
(407.9mm)
14 5/8"
(370.4mm)
8 1/8"
(207.35mm)
Ø1 7/8"
(48mm)
3 1/4"
(83.2mm)
Ø1 7/8"
(48mm)
4"
(102mm)
4"
(102mm)