Micro Component System Instructions
Table Of Contents

9
Common Operations
Setting the Clock
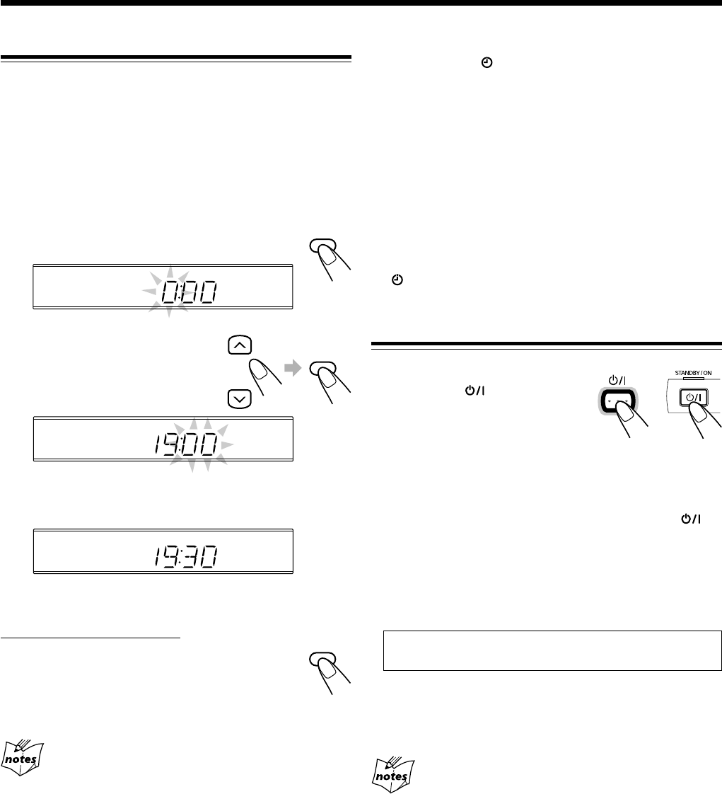
Before operating the unit any further, first set the unit’s clock.
When you plug the AC power cord into the wall outlet,
“0:00” starts flashing on the display.
You can set the clock whether the unit is on or off.
• There is a time limit in doing the following steps. If the
setting is canceled before you finish, start over from step
1
.
• For UX-J50 only, you can also use CLOCK/TIMER on the
unit for this operation.
1
Press CLOCK/TIMER.
The hour digits start flashing on the display.
2
Press UP or DOWN to
adjust the hour, then
press CLOCK/TIMER.
The minute digits start flashing.
3
Press UP or DOWN to adjust the minute,
then press CLOCK/TIMER.
To check the clock time during play
On the remote control ONLY:
Press DISPLAY (gray-colored).
• Each time you press the button, the source
indication and the clock time alternate on the
display.
• When you unplug the AC power cord or if a power failure
occurs
The clock is reset to “0:00” right away. If this happens, set the
clock again.
• The clock may gain or lose 1 to 2 minutes per month
If this happens, reset the clock.
To change the clock
1 Make sure the (timer) indicator is not lit on the
display.
• If it is lit, press and hold CLOCK/TIMER until it goes
off.
2 Press CLOCK/TIMER repeatedly until the unit enters
the clock setting mode (the hour digits start flashing
on the display).
First time you press CLOCK/TIMER, the unit enters the
timer setting mode. (See page 20.)
3 Repeat steps
2
and
3
of the procedure of “Setting the
Clock.”
4 Press and hold CLOCK/TIMER again so that the
(timer) indicator goes off.
Turning On the Power
To turn on the unit, press
STANDBY/ON .
The STANDBY/ON lamp lights
green and “HELLO” appears on
the display.
• When you press the source button—CD 3/8, TAPE 2 3,
FM/AM, and AUX, the unit automatically turns on and
starts playback if the source is ready.
To turn off the unit (standby), press STANDBY/ON
again.
The STANDBY/ON lamp lights red and “GOOD BYE”
appears on the display.
• “0:00” flashes on the display until you set the built-in
clock. After setting the clock, the clock time will appear on
the display while the unit is on standby.
The illumination and display brighten only for 4 seconds
by pressing DIMMER.
• A little power is always consumed even while the unit is on
standby.
To switch off the power supply completely, unplug the AC
power cord from the AC outlet.
When you unplug the AC power cord or if a power
failure occurs
The clock is reset to “0:00” right away, while the tuner preset
stations (see page 12) will be erased in a few days.
DISPLAY
CLOCK
/TIMER
STANDBY/ON
UP
DOWN
CLOCK
/TIMER
EN01-13_UX-J60&50[A]ff.pm6 03.5.23, 8:12 PM9










