Product Manual
Manuals
Brands
Jet Manuals
Lathes
JET ZX Large Spindle Bore Metal Lathe — 22in. x 80in.
71
72
73
74
75
76
77
78
79
80
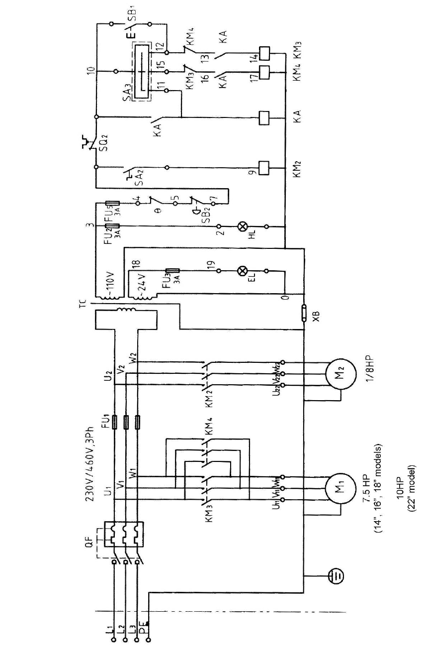
60
Wi
ri
ng Diagram
1
...
...
78
79
80
81
82
83
...
84