Product Manual

43
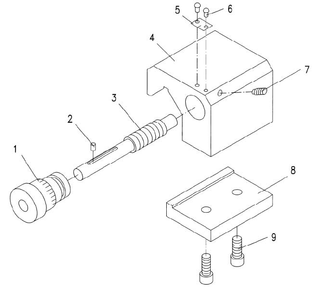
Micro Carriage Stop
Index Part
No. No. Description Size Qty.
1 .......... ZX-09709 ......................Dial........................................................................................................ 1
2 .......... ZX-MS2 ........................Pin......................................................................B4x8 ........................... 1
3 .......... ZX-09708 ......................Axle ....................................................................................................... 1
4 .......... ZX-09105 ......................Stop....................................................................................................... 1
5 .......... ZX-03302 ......................Sign Plate .............................................................................................. 1
6 .......... ZX-MS6 ........................Nail.....................................................................3x8 ............................. 2
7 .......... ZX-MS7 ........................Hex Socket Set Screw ........................................M6x12 ........................ 1
8 .......... ZX-09106 ......................Clamping Plate ...................................................................................... 1
9 .......... ZX-MS9 ........................Hex Socket Cap Screw .......................................M8x20 ........................ 2