Use and Care Guide
Table Of Contents

16
Cette table de cuisson à induction génère et utilise une énergie de fréquence ISM qui chauffe le plat de cuisson à l’aide d’un champ
électromagnétique. Elle a été testée et déclarée conforme à la section 18 du règlement FCC et à la norme ICES-001 d’Industrie
Canada pour l’équipement ISM. Cette table de cuisson à induction satisfait aux exigences du règlement FCC pour la réduction des
interférences avec d’autres dispositifs résidentiels.
Cette table de cuisson à induction peut causer des interférences pour la réception de la télévision et de la radio. En cas d’interférence,
l’utilisateur doit essayer d’y remédier en prenant une ou plusieurs des mesures suivantes :
■ Changer l’orientation de l’antenne de réception de la radio ou de la télévision.
■ Éloigner la table de cuisson du récepteur.
■ Brancher le récepteur dans une prise différente.
Il incombe à l’utilisateur de corriger toute interférence.
REMARQUE : Les personnes utilisant un stimulateur cardiaque ou un dispositif médical similaire doivent prendre leurs précautions
lorsqu’elles se trouvent à proximité d’une table de cuisson à induction allumée. Le champ électromagnétique peut affecter le
fonctionnement du stimulateur cardiaque ou de tout dispositif similaire. Consultez votre médecin ou le fabricant du stimulateur
cardiaque ou du dispositif médical pour obtenir des informations supplémentaires à propos de ses effets en présence des champs
magnétiques émis par la table de cuisson à induction.
UTILISATION DE LA TABLE DE CUISSON
Modéle JIC4715GS
Modéle JIE4115GS
Ce dispositif est conforme à la section 18 des règlements FCC.
Ce dispositif est conforme à la norme
ICES-001 d’Industrie Canada.
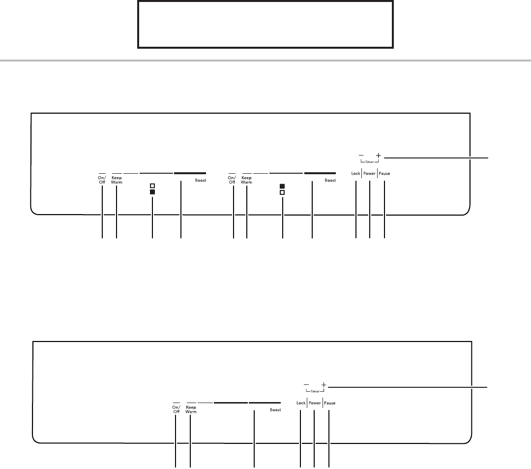
A B
C
D
E
F
G
H
I J
K
L
A. Touche marche/arrêt de la surface de cuisson avant
B. Touche maintien au chaud de la surface de cuisson arrière
C. Témoin de la surface de cuisson avant
D. Curseur d’alimentation avant
E. Touche marche/arrêt de la surface de cuisson arrière
F. Touche maintien au chaud de la surface de cuisson arrière
G. Témoin de la surface de cuisson arrière
H. Curseur d’alimentation arrière
I. Témoin de verrouillage des commandes
J. Touche marche/arrêt de la table de cuisson
K. Touche pause
L. Touches de minuterie (durée +/-)
A B
C
D E
F
G
A. Touche marche/arrêt de la surface de cuisson avant
B. Touche maintien au chaud de la surface de cuisson
arrière
C. Curseur d’alimentation avant
D. Témoin de verrouillage des commandes
E. Touche marche/arrêt de la table de cuisson
F. Touche pause
G. Touches de minuterie (durée +/-)










