
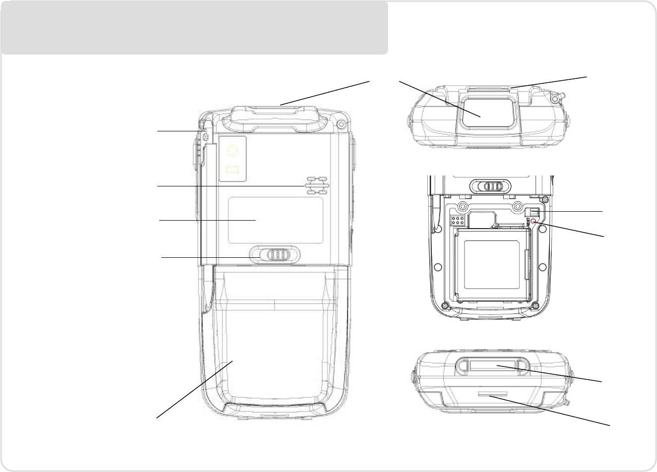
Features rear, top and bottom views
1. Data capture
window
2. Stylus
3. Speaker
4. Label recess
5. Battery cover latch
6. Battery cover
7. Handstrap clip
8. USB Connector
9. Handstrap bar
10. Reset Key
11. Battery cover
switch
6
5
4
3
2
1
7
8
9
10
11