Operating instructions

PL- 3
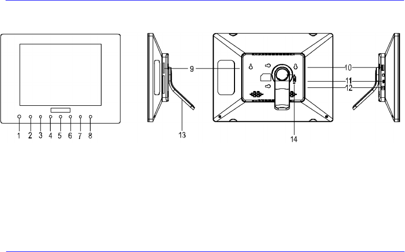
PRZEGLĄD FUNKCJI PRODUKTU
1 Czujnik podczerwieni
2 Przycisk ODTWARZANIE/PAUZA/ENTER (PLAY/ PAUSE/ ENTER) []
3 Przycisk MENU [M]
4 Przycisk Stop/Koniec []
5 Przycisk W lewo []
6 Przycisk W prawo []
7 Przycisk Do góry/Powrót []
8 Przycisk W dół/Do przodu [] Taste
9 Czytnik kart (SD/MMC/MS) 3-w-1
10 Port USB: USB 2.0
11 Złącze mini USB
12 Złącze sieciowe 5V 2A
13 Podpórka
14 Włączenie/ Wyłączenie










