Power Hammer User Manual
Table Of Contents

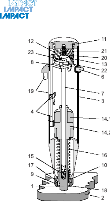
6.4.4 Concrete Test Hammer Model ND/LD
Fig. 6.2 Lengthways section through the concrete test hammer
Key:
1 Impact plunger
2 Test surface
3 Housing, complete
4 Slider with guide rod
5 Not used
6 Push button, complete
7 Hammer guide bar
8 Guide disk
9 Cap (for model LD red)
10 Two-part ring
11 Rear cover (for model LD red)
12 Compression spring
13 Pawl
14 Hammer mass: 14.1 model ND,
14.2 model LD
15 Retaining spring
16 Impact spring
17 Guide sleeve
18 Felt washer
19 Resistance element with input
socket
20 Trip screw
21 Locknut
22 Pin
23 Pawl spring
- 16 -