Owner manual
Manuals
Brands
IEI Integration Manuals
Hardware
PE-7S2 v2.10
1
2
3
3
10 PC
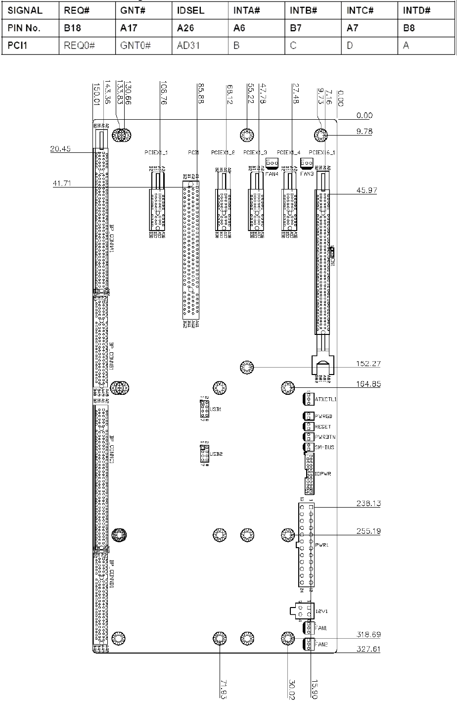
I
Rout
ing
table
1
2
3