Instruction Manual

7-4
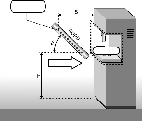
Example in which the direction of entry is at an angle to the safety light curtain
侵入方向
Access
Protective
Area Limit
Danger Zone
The angle of entry is set within a range of 5°≦≦85°.
At >30°, the direction of entry is calculated as being perpendicular.
At <30°, the direction of entry is calculated as being horizontal.
The minimum distance is the distance to the farthest optical axis, and the height of the optical
axis is calculated using ≦1000 (mm).
The height of the lowest optical axis is calculated using H≧15(d-50)(mm).










