Instruction Manual

7-2
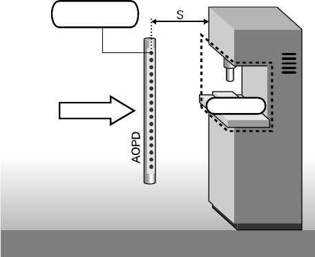
Example in which the direction of entry is perpendicular to the safety light curtain
Access
Danger Zone
Protective
Area Limit
・ When the size of the minimum detected object is 40 (mm) or smaller
Use the following formula to calculate the minimum distance.
S=K×(Tc+T1+T2)+C
Tc= t1+t2
If using the SafetyOne and a safety light curtain, the following parameters are used for the
above formula.
K=2000 (mm/s)
t1=0.04 (s)
t2=0 (s), 0.1 (s), 0.5 (s), 1 (s), 2 (s), 5 (s), 15 (s), 30 (s)
T1 (s) (Check the specifications of the safety light curtain)
T2 (s) (Check the maximum time from when the safety output of the SafetyOne is turned OFF
when the hazard is stopped)
C=8× (Size of the minimum detectable object of the safety light curtain d (mm)-14 (mm))
Under the above conditions, when the minimum distance (S) is less than 100 (mm), it becomes
100 (mm).
When the minimum distance (S) is greater than 500 (mm), calculate again with K=1600 (mm/s).
When the result of the recalculation with K=1600 (mm/s) is less than 500 (mm), it becomes 500
(mm).
・ When the size of the minimum detected object is greater than 40 (mm)
Use the following formula to calculate the minimum distance.
S=K×(Tc+T1+T2)+C
Tc= t1+t2
K=1600 (mm/s)
t1=0.04 (s)
t2=0 (s), 0.1 (s), 0.5 (s), 1 (s), 2 (s), 5 (s), 15 (s), 30 (s)
T1 (s) (Check the specifications of the safety light curtain.)
T2 (s)(Check the maximum time from when the safety output of the SafetyOne is turned OFF
when the hazard is stopped)
C=850 (mm)










