User Guide
Table Of Contents
- ELECTRIC HEATER COMPANY
- WARNING / CAUTION
- TABLE OF CONTENTS
- GENERAL DESCRIPTION
- CONSTRUCTION
- OPTIONS
- Low Water Cut-Off
- Dial Temperature and Pressure Gauge
- Vacuum Relief Valve
- A vacuum relief valve may be provided with the unit to reduce the risk of back siphonage and back pressure of the system. The valve will be shipped loose for in-line installation. Instructions for installation are provided with the valve.
- Electro-Mechanical Timer
- An electro-mechanical 7-day time clock with battery back-up may be supplied for specific timing operations. A set of instructions will be supplied with the timer.
- FINAL CHECKS
- CONSTRUCTION
- GENERAL DESCRIPTION
- Symptom

16
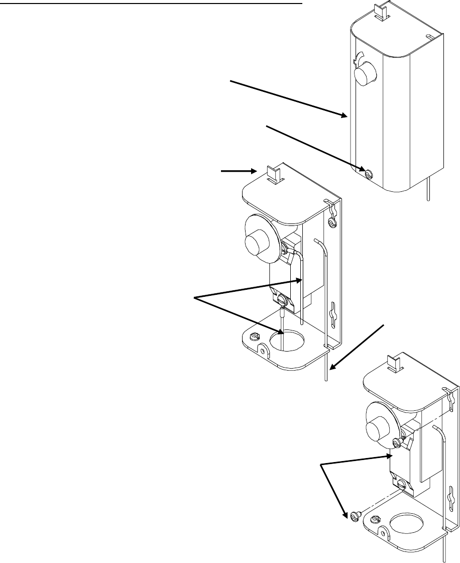
IMMERSION TEMPERATURE HIGH LIMIT CUT-OFF
1. Disconnect power from unit.
2. Remove access cover.
3. Remove high limit cover screw and cover.
Cover
Cover Screw
Reset Switch
4. Disconnect the two (2) 14 gauge wires.
Wires
Capillary Tube
5. Remove capillary tube and bulb from thermowell
6. Remove two (2) mounting screws.
Mounting Screws
7. Remove control and install new high limit switch by performing above
steps in reverse order. (Note: Be sure to place capillary tube into slot in base prior
to installing cover.)










