User Guide
Table Of Contents

14
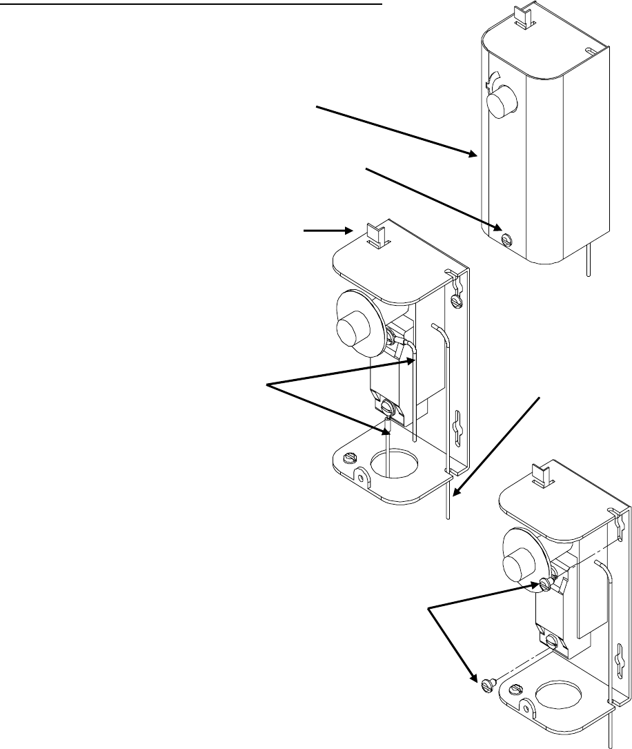
IMMERSION TEMPERATURE HIGH LIMIT CUT-OFF
1. Disconnect power from unit.
2. Remove access cover.
3. Remove high limit cover screw and cover.
Cover
Cover Screw
Reset Switch
4. Disconnect the two (2) 14 gauge wires.
Wires Capillary Tube
5. Remove capillary tube and bulb from
thermowell.
6. Remove two (2) mounting screws.
Mounting Screws
7. Remove control and install new high limit switch by performing above
steps in reverse order. (Note: Be sure to place capillary tube into slot in base
prior to installing cover.)










