User's Manual
Table Of Contents
- Product description
- External component identification
- Illustrated parts catalog
- Removal and replacement procedures
- Preliminary replacement requirements
- Component replacement procedures
- Service tag
- Computer feet
- Battery
- Webcam/microphone module
- Optical drive
- Memory module
- TV tuner module
- RTC battery
- Hard drive
- WLAN module
- Switch cover and keyboard
- Power button board
- Display assembly
- Speaker
- Bluetooth module
- Top cover
- Modem module
- Audio/infrared board
- USB board
- Power connector cable
- System board
- TV tuner module cable
- Modem module cable
- Fan/heat sink assembly
- Processor
- Setup Utility
- Specifications
- Computer specifications
- 15.6-inch, WXGA display specifications
- 16.0-inch WXGA BrightView display specifications
- 16.0-inch WXGA AntiGlare display specifications
- Hard drive specifications
- Blu-ray ROM DVD±R/RW SuperMulti Double-Layer Drive specifications
- DVD±RW SuperMulti Double-Layer Combo Drive specifications
- System DMA specifications
- System interrupt specifications
- System I/O address specifications
- System memory map specifications
- Screw listing
- Backup and Recovery
- Connector pin assignments
- Power cord set requirements
- Recycling
- Index

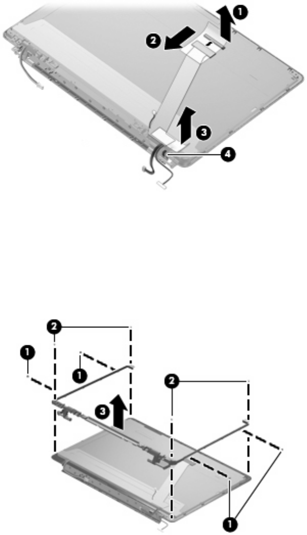
23. Remove the cable from the clip on the right display hinge (4).
24. If it is necessary to replace the display hinges, remove the four Phillips PM2.5×5.0 screws (1) that
horizontally secure the display hinge bracket to the display panel.
25. Remove the four Phillips PM2.5×5.0 screws (2) that vertically secure the display hinge bracket to
the display panel.
26. Remove the display hinge bracket (3). The Display Hinge Kit is available using spare part number
513477-001 for computers with 15.6-inch displays and 519209-001 for computers with 16-inch
displays.
Component replacement procedures 73










