HP ProLiant ML100 Series Server User Guide

Table Of Contents
Hardware options installation 31
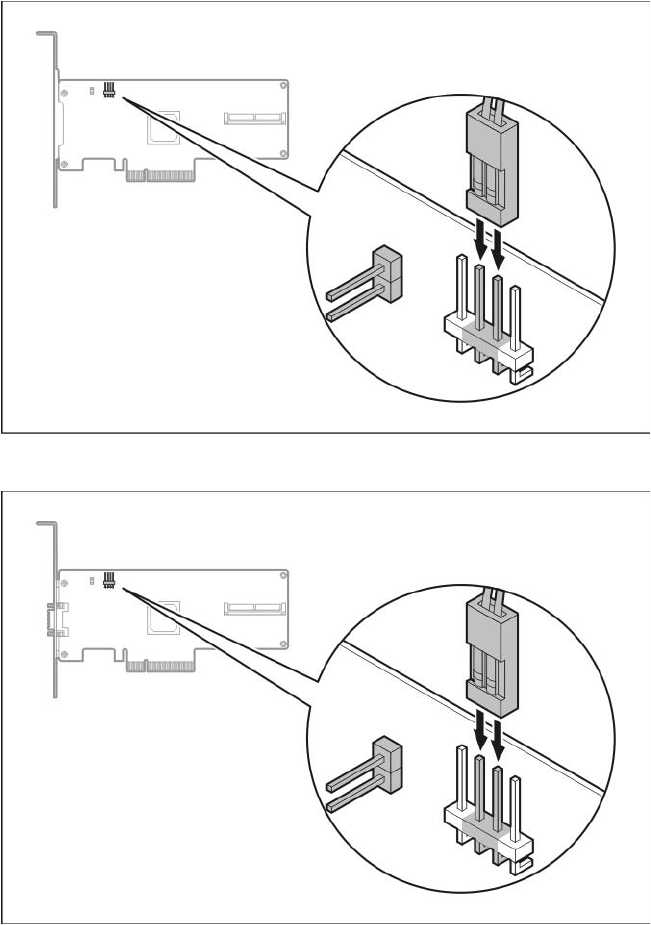
HP 4 Internal Port SAS HBA SC40Ge with RAID storage controller card
HP Int-4 Ext port, PCI-E SAS RAID storage controller card