HP ProLiant BL480c Server Blade User Guide

Table Of Contents
Hardware options installation 29
10.
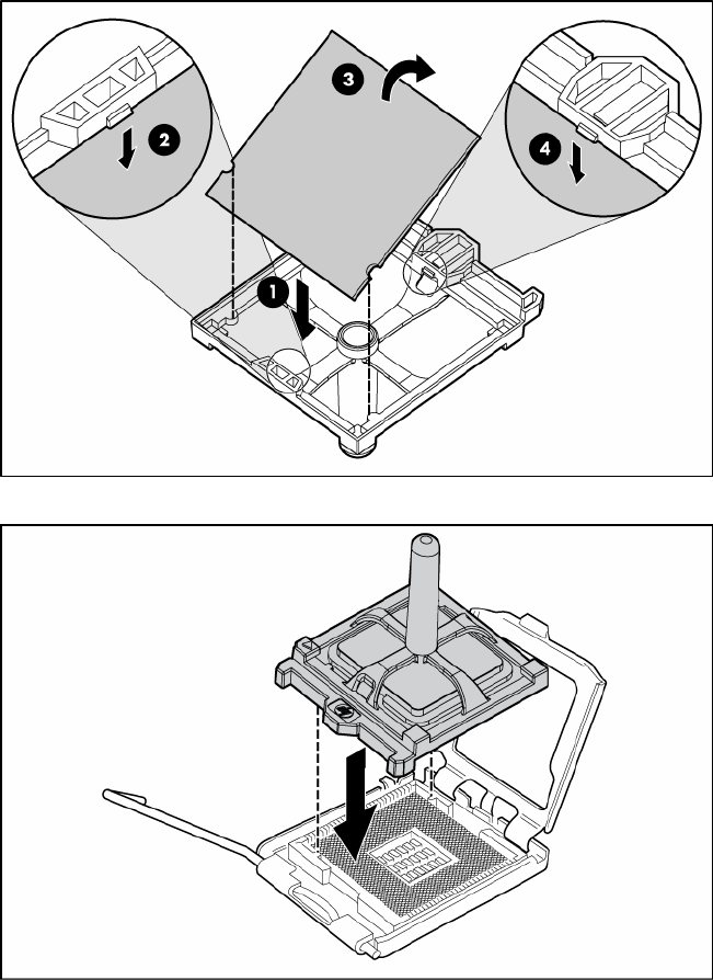
If the processor has separated from the installation tool, carefully re-insert the processor in the tool.
11. Align the processor installation tool with the socket and install the processor.