Wireless/Redundant Edge Services xl Module Management and Configuration Guide WS.02.xx and greater

Table Of Contents
8-11
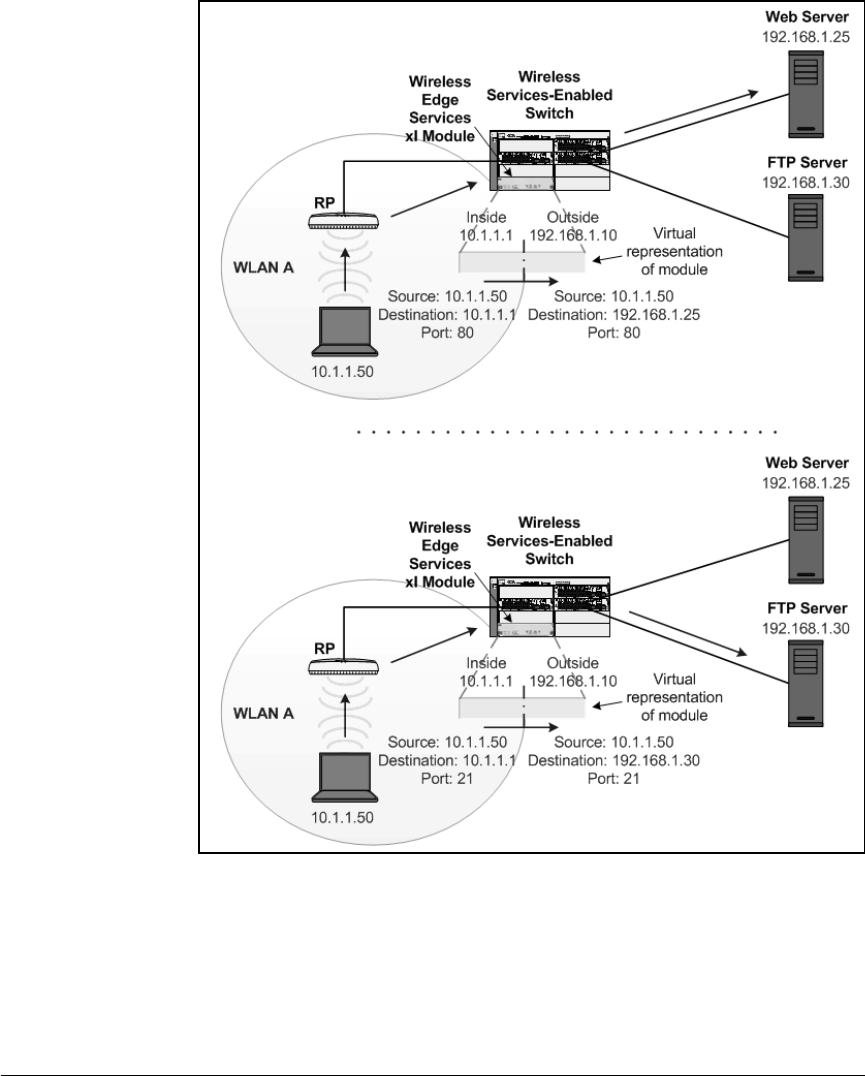
Configuring Network Address Translation (NAT)
Overview
Figure 8-5. Outside Destination NAT with Port Forwarding
When the module translates the destination IP address, it can also perform
port translation, assigning the traffic to the particular port used by the desti-
nation device.