HP XP7 RAID Manager Installation and Configuration User Guide (T1610-96065)

Table Of Contents
Windows NT:
HORCM_CMD of HOSTA = \\.\CMD-Ser#-ldev#-Port#
HORCM_CMD of HOSTB = \\.\CMD-Ser#-ldev#-Port#
HORCM_CMD of HOSTC = \\.\CMD-Ser#-ldev#-Port#
HORCM_CMD of HOSTD = \\.\CMD-Ser#-ldev#-Port#
Linux, z/Linux:
HORCM_CMD of HOSTA = /dev/sdX
HORCM_CMD of HOSTB = /dev/sdX
HORCM_CMD of HOSTC = /dev/sdX HORCM_CMD of HOSTD = /dev/sdX
where X = disk number defined by Linux, z/Linux
IRIX64:
HORCM_CMD for HOSTA ... /dev/rdsk/dks0d0l1vol or /dev/rdsk/node_wwn/lun1vol/c0p0
HORCM_CMD for HOSTB ... /dev/rdsk/dks1d0l1vol or /dev/rdsk/node_wwn/lun1vol/c1p0
HORCM_CMD for HOSTC ... /dev/rdsk/dks1d0l1vol or /dev/rdsk/node_wwn/lun1vol/c1p0
HORCM_CMD for HOSTD ... /dev/rdsk/dks1d0l1vol or /dev/rdsk/node_wwn/lun1vol/c1p0
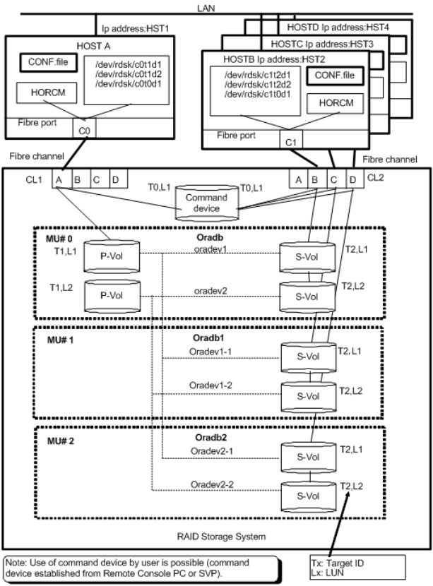
Figure 21 Business Copy Configuration Example (continues on the next page)
Examples of RAID Manager configurations 77