HP XP7 RAID Manager Installation and Configuration User Guide (T1610-96065)
Table Of Contents
- XP7 RAID Manager Installation and Configuration User Guide
- Contents
- 1 Installation requirements
- System requirements
- Supported environments
- Supported Business Copy environments
- Supported Continuous Access Synchronous environments
- Supported Continuous Access Asynchronous environments
- Supported Continuous Access Journal environments
- Supported Snapshot environments
- Supported Data Retention environments
- Supported Database Validator environments
- Supported guest OS for VM
- Supported IPv4, IPv6 platforms
- Requirements and restrictions for z/Linux
- Requirements and restrictions for VM
- Porting notice for OpenVMS
- Using RAID Manager with Hitachi and other storage systems
- 2 Installing and configuring RAID Manager
- 3 Upgrading RAID Manager
- 4 Removing RAID Manager
- 5 Troubleshooting
- 6 Support and other resources
- A Fibre-to-SCSI address conversion
- B Sample configuration definition files
- Glossary
- Index

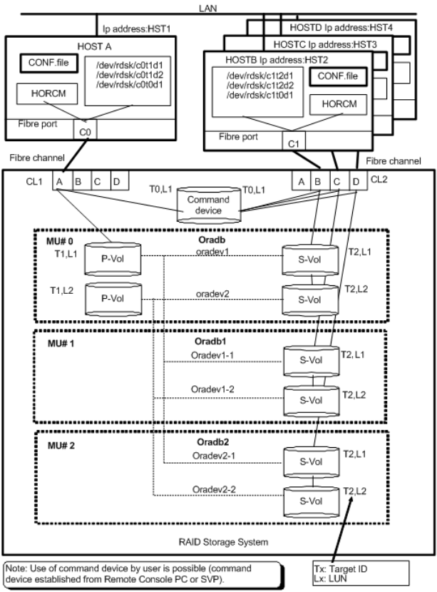
• Windows NT:
HORCM_CMD of HOSTA = \\.\CMD-Ser#-ldev#-Port#
HORCM_CMD of HOSTB = \\.\CMD-Ser#-ldev#-Port#
HORCM_CMD of HOSTC = \\.\CMD-Ser#-ldev#-Port#
HORCM_CMD of HOSTD = \\.\CMD-Ser#-ldev#-Port#
• Linux, z/Linux:
HORCM_CMD of HOSTA = /dev/sdX
HORCM_CMD of HOSTB = /dev/sdX
HORCM_CMD of HOSTC = /dev/sdX HORCM_CMD of HOSTD = /dev/sdX
where X = disk number defined by Linux, z/Linux
• IRIX64:
HORCM_CMD for HOSTA ... /dev/rdsk/dks0d0l1vol or /dev/rdsk/node_wwn/lun1vol/c0p0
HORCM_CMD for HOSTB ... /dev/rdsk/dks1d0l1vol or /dev/rdsk/node_wwn/lun1vol/c1p0
HORCM_CMD for HOSTC ... /dev/rdsk/dks1d0l1vol or /dev/rdsk/node_wwn/lun1vol/c1p0
HORCM_CMD for HOSTD ... /dev/rdsk/dks1d0l1vol or /dev/rdsk/node_wwn/lun1vol/c1p0
Figure 21 Business Copy Configuration Example (continues on the next page)
Examples of RAID Manager configurations 77










