L700 (CTL700) Installation and User's Guide (G06.28+, H06.04+, J06.03+)

Table Of Contents
Controls and Indicators on the CTL700 Tape Library
L700 (CTL700) Installation and Users Guide527338-008
4-2
Operator Panel
Use this panel to:
Monitor current information about the CAPs, configuration, drives, doors, tape drive
cleaning, hardware and software versions, and tape library status
Help resolve tape library problems
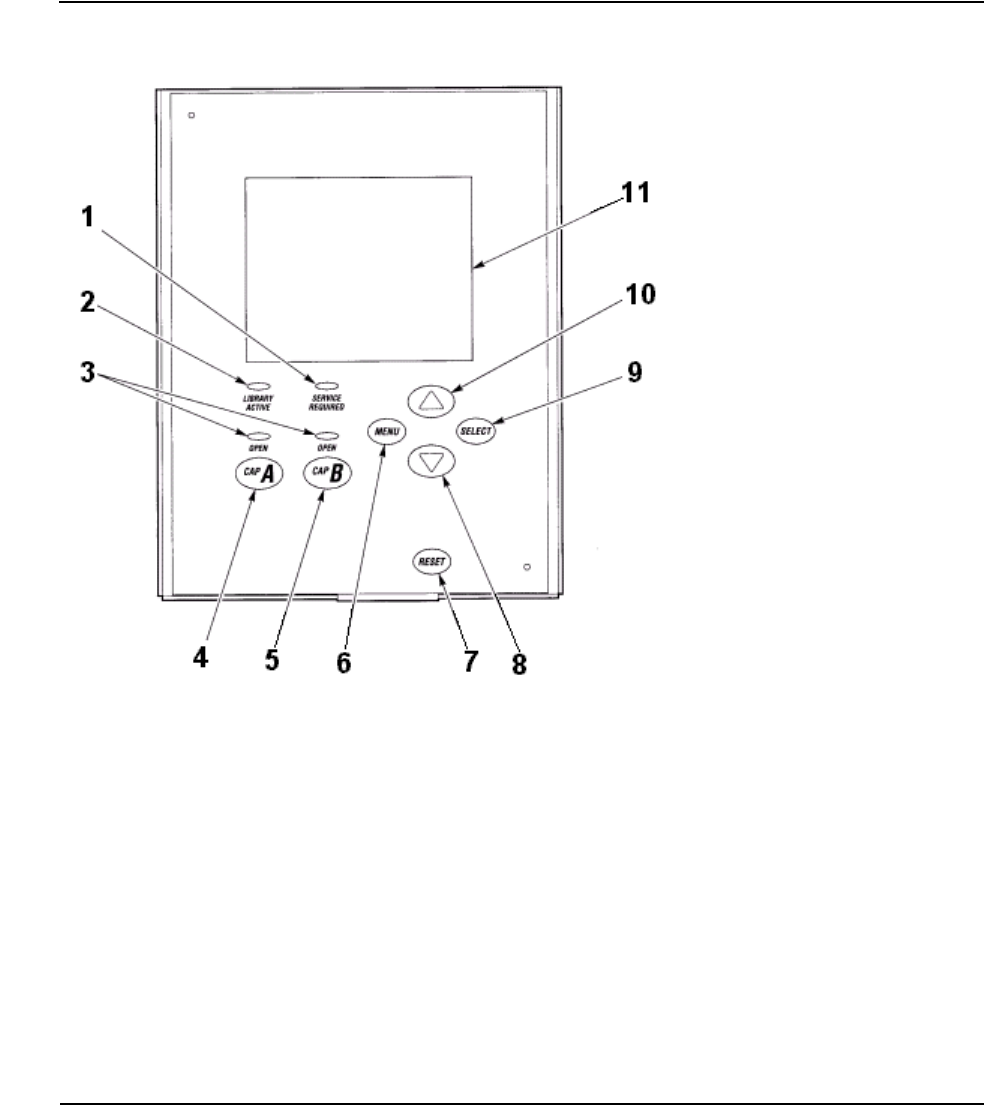
Figure 4-1. Operator Panel Display, Control, and Indicators
1. Service Required indicator is steadily red when human intervention is required.
2. Library Active indicator flashes green when the library is operational.
3. Open indicator is steadily amber when the CAP is open for you to enter or remove cartridges.
4. CAP A open button rotates CAP A for you to access the magazines.
5. CAP B open button rotates CAP B for you to access the magazines.
6. MENU button initially places you into the Main Menu screen; subsequently, it returns you to a
previously selected screen.
7. RESET button starts an IPL.
8. Arrow down button moves the cursor down the display screen; it also decrements a value
underscored to the next field.
9. SELECT button selects an item on a menu; it also saves the currently underscord value and
moves the cursor to the next field.
10. Arrow up button moves the cursor up the display screen; it also increments a value underscored
on the screen.
11. Graphic display screen shows current information and errors and allows input from menus.