Guardian Programmer's Guide

Table Of Contents
Managing Memory
Guardian Programmer’s Guide 421922-014
17 - 31
Referencing Data in an Extended Data Segment
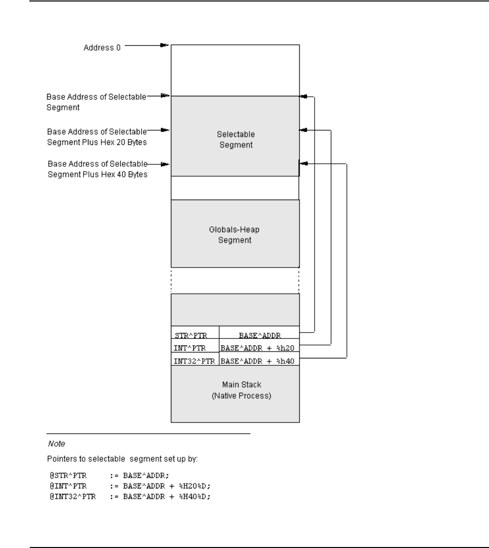
Figure 17-7. Referencing a Selectable Segment
VST090.VSD