Installation and configuration of the HP NetRAID, NetRAID-1 and NetRAID 3Si Adapters

Appendix D Cabling Diagrams
164
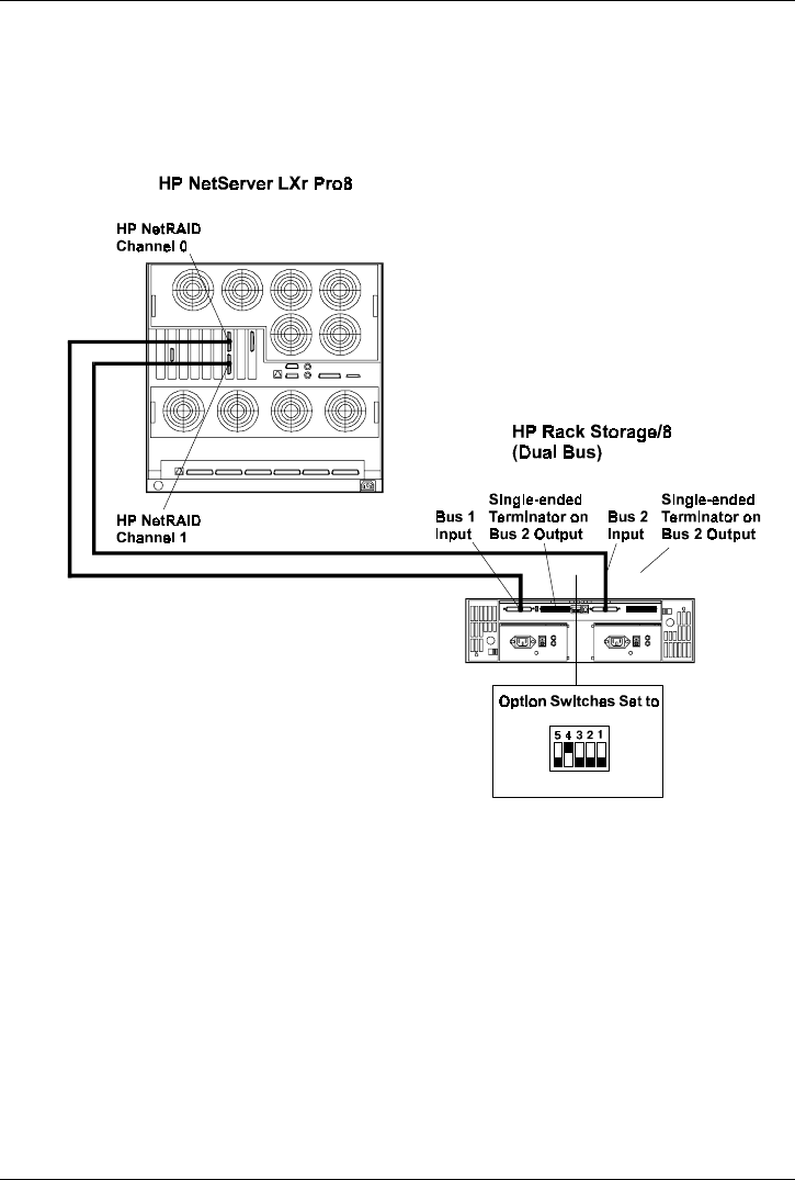
Cabling Two HP NetRAID Channels to a Dual-Bus HP NetServer
Rack Storage/8
Figure D-11. Cabling Two External Channels from an HP NetRAID Adapter in
an HP NetServer LXr Pro8 to a Dual-Bus HP NetServer Rack Storage/8.
(The external connectors for any two channel of an HP NetRAID or
HP NetRAID-3Si adapter can be used.)
Mass Storage Cables
SCSI cables (2.5 m long and not extendible) limit the distance between a storage
unit and its associated server. The HP NetServer Rack Assembly and Cabling
Reference Guide guidelines for rack layouts take this distance limitation into
account.










