HP Netserver LX & LXe 30/FC Installation Guide

8
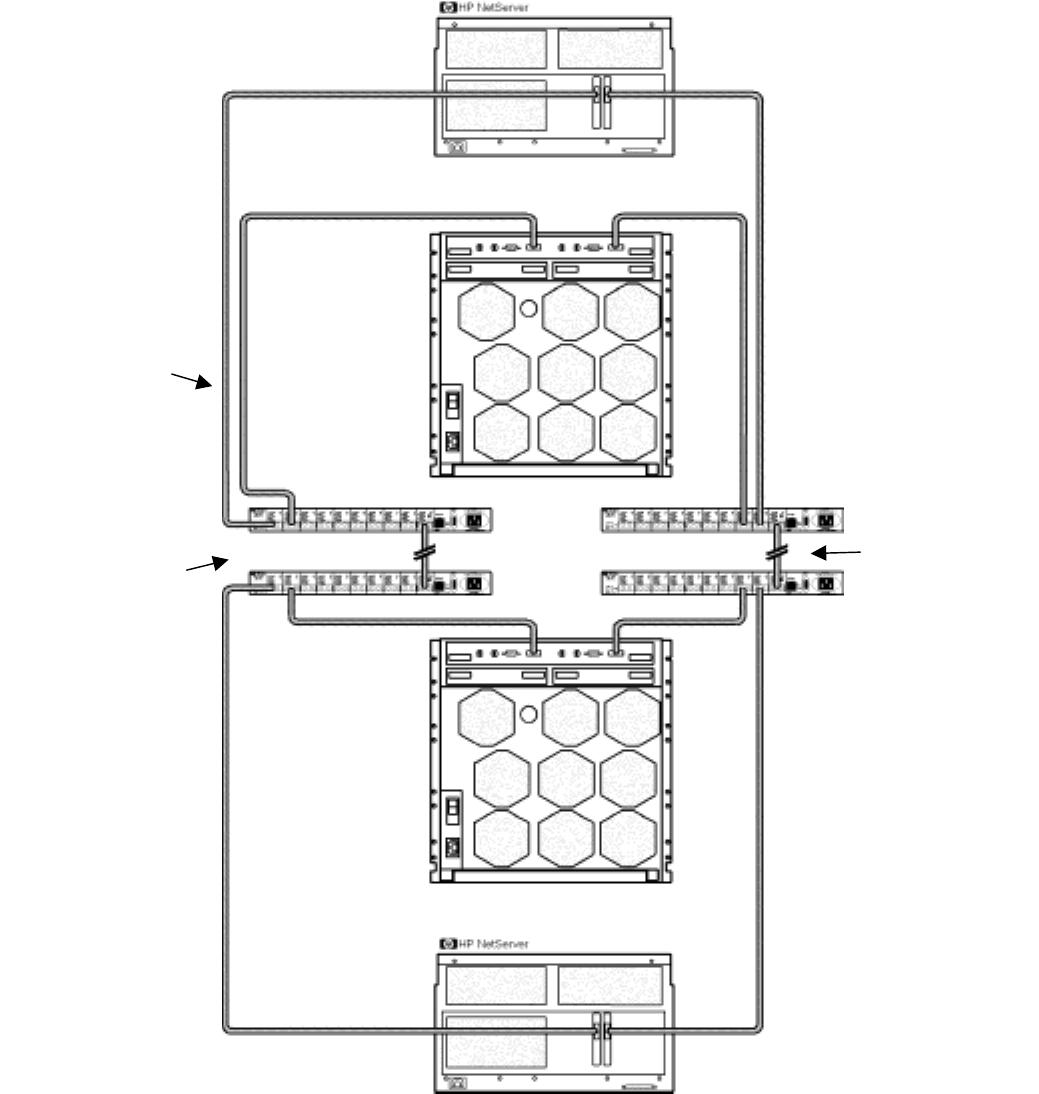
See Shared
Storage Cables for
a list of cables that
can be connected
between hubs.
Port 10 is used
exclusively in Long
Wave hubs for hub-
to-hub connection.
Port connections to
these hubs are for
example only. You
can use any port,
except for port 10 on
Long Wave Hubs. The
remaining ports can
be used for
connection of
additional Disk Arrays.
See Shared
Storage Cables for
a list of cables that
can be connected
to the Short Wave
Ports of the hub.