Installation and configuration of the HP NetRAID, NetRAID-1 and NetRAID 3Si Adapters

Appendix D Cabling Diagrams
149
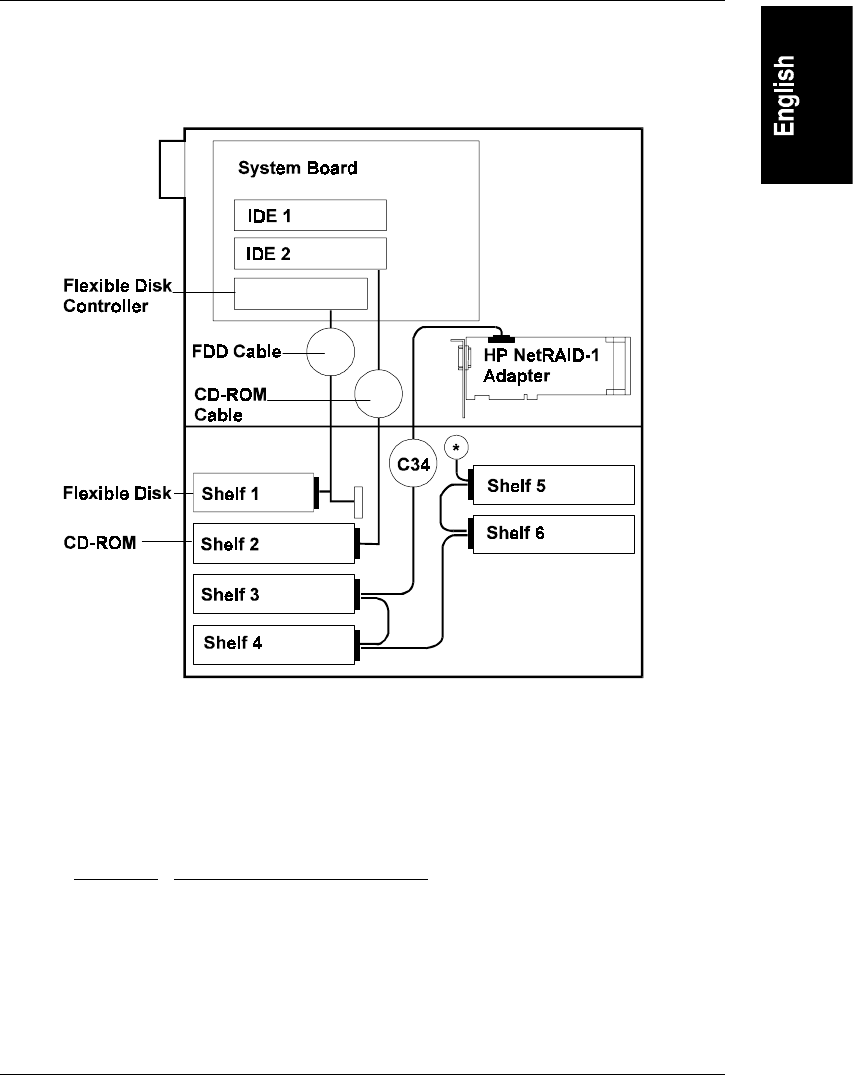
HP NetServer E40 and E45
Figure D-1. HP NetServer E Series Single Channel Cabling
Cabling
Diagram
Label
Description
FDD cable
CD-ROM cable
C34
SCSI cable for four SCSI devices
and HP NetRAID Series adapter
*
Built-in SCSI terminator