User Guide

Heatilator • Caliber Mesh CD Series-SIT Valve • 4040-849 Rev J • 06/0834
3 fasteners
per side
Ceiling firestop
installed below ceiling.
Ceiling firestop
installed above ceiling.
Install attic insula-
tion shields before
or after installation
of vent system.
ATTIC ABOVE
A
PIPE
DVP
SLP
A
10 in. (254 mm)
9 in. (229 mm)
A
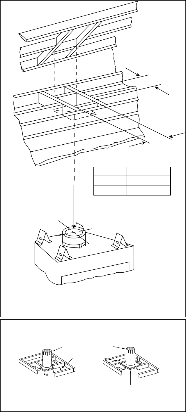
C. Install the Ceiling Firestop
A ceiling fi restop MUST be used between
fl oors and attics.
• DVP pipe only - Frame an opening 10 in.
by 10 in. (254 mm by 254 mm) whenever
the vent penetrates a ceiling/fl oor (see
Figure 8.3).
• SLP pipe only - Frame opening 9 in. x
9 in. (229 mm x 229 mm) whenever the
vent penetrates a ceiling/floor (see Figure
8.3).
• Frame the area with the same sized lumber
as used in ceiling/fl oor joist.
• The ceiling fi restop may be installed above or
below the ceiling joists when installed with a
attic insulation shield. It must be under joists
between fl oors that are not insulated. Refer
to Figure 8.4.
• Secure with three fasteners on each side.
WARNING! Risk of Fire! DO NOT pack insu-
lation around the vent. Insulation must be kept
back from the pipe to prevent overheating.
Figure 8.3 Installing Ceiling Firestop
Figure 8.4 Installing the Attic Shield










