- Hearth & Home Technologies 2100 Millennium Wood Stove Advanced Combustion Control (ACC) Owner's Manual Installation and Operation

Page 18
7039-131F
September 1, 2008
R
2100 Millennium Wood Stove (ACC)
6
Mobile Home Installation
10. Burn wood only. Other types of fuels may generate
poisonous gases (e.g., carbon monoxide).
11. If unit burns poorly while an exhaust blower is on in
home, (i.e., range hood), increase combustion air.
12. Installation shall be in accordance with the Manufacturers
Home & Safety Standard (HUD) CFR 280, Part 24.
1. An outside air inlet must be provided for combustion See
page 12 for installation information.
2. Appliance must be secured to the mobile home structure
by bolting the pedestal through hearth pad and into
oor.
. Appliance must be grounded with #8 solid copper
grounding wire or equivalent and terminated at each end
with N.E.C. approved grounding device.
4. Appliance must be installed with an approved UL10 HT
ventilated chimney connector, UL10 HT chimney, and
terminal cap with spark arrestor. Never use a single wall
connector (stove pipe) in a mobile home installation. Use
only double-wall connector pipe, Dura-Vent DVL, Selkirk
metalbestos DS or Security DL double-wall connector or
any listed double-wall connector pipe.
5.
In Canada, this appliance must be connected to a 6 inch
(152mm) factory-built chimney conforming to CAN/ULC-
629M, STANDARD FOR FACTORY BUILT CHIMNEYS.
6. Follow the chimney and chimney connector manufacturer’s
instructions when installing the ue system for use in a
mobile home.
7. Maintain clearance to combustibles.
8. Floor protection requirements must be followed
precisely.
9. Use silicone to create an effective vapor barrier at the
location where the chimney or other component penetrates
to the exterior of the structure.
You must use a Quadra-Fire Outside Air Kit Part
OAK-ACC and (depending on oor installation, Part
SRV7033-041) for installation in a mobile home.
NOTE: Offsets from the vertical, not exceeding 45°, are
allowed per Section 905(a) of the Uniform Mechanical Code
(UMC). Offsets greater than 45° are considered horizontal
and are also allowed, providing the horizontal run does not
exceed 75% of the vertical height of the vent. Construction,
clearance and termination must be in compliance with the
UMC Table 9C. This installation must also comply with NFPA
211.
NOTE: Top sections of chimney must be removable to allow
maximum clearance of 1.5 feet (411cm) from ground level
for transportation purposes.
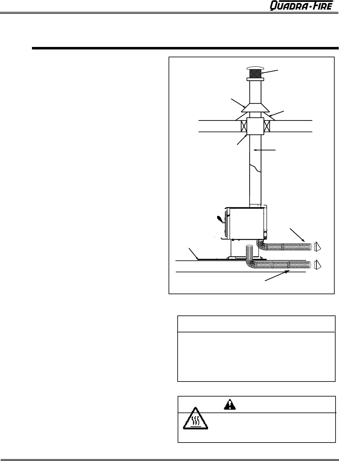
Figure 18.1
Spark Arestor Cap
Roof Flashing
Storm Collar
Joist Shield/Firestop
Double wall
connector pipe
Floor Protector
Outside Air Floor Vent
Outside Air
Rear Vent
CAUTION
Maintain structural integrity of mobile home:
• Floor, wall, ceiling and/or roof.
Do NOT cut through:
• Floor joist, wall, studs or ceiling trusses.
• Any supporting material that would affect the structural
integrity.
• Never install in a sleeping room.
Consumes oxygen in the room.
WARNING
Asphyxiation Risk.










