Manual
Manuals
Brands
Harrington Hoists and Cranes Manuals
Hoist
MCR Trolley
11
12
13
14
15
16
17
18
19
20
20
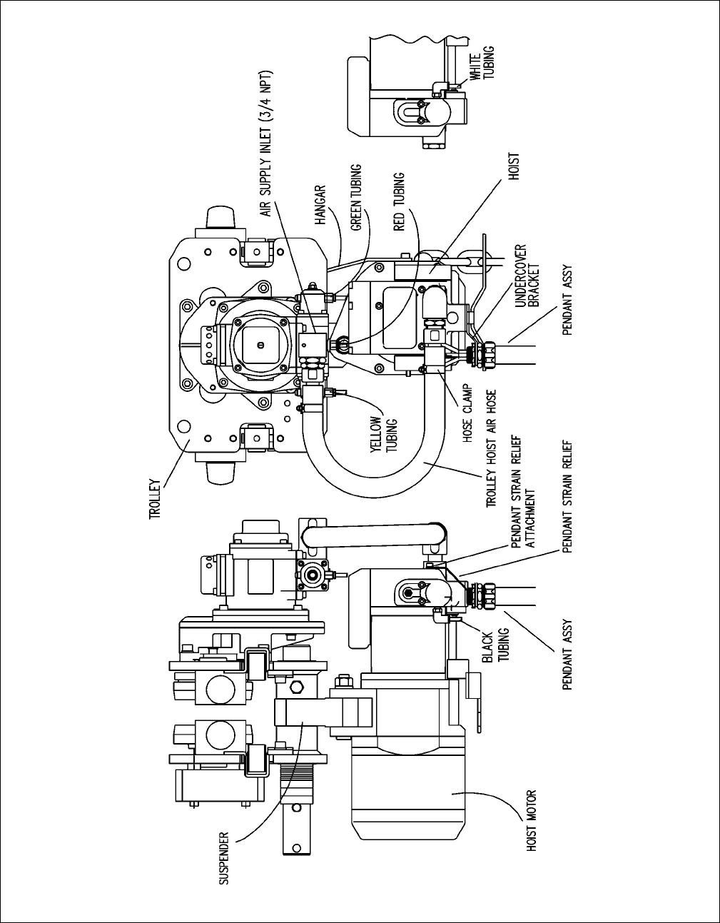
Figure 3-9
Air Supply and Pend
ant Hose Conn
ections
1
...
...
18
19
20
21
22
...
...
52