User Guide

39
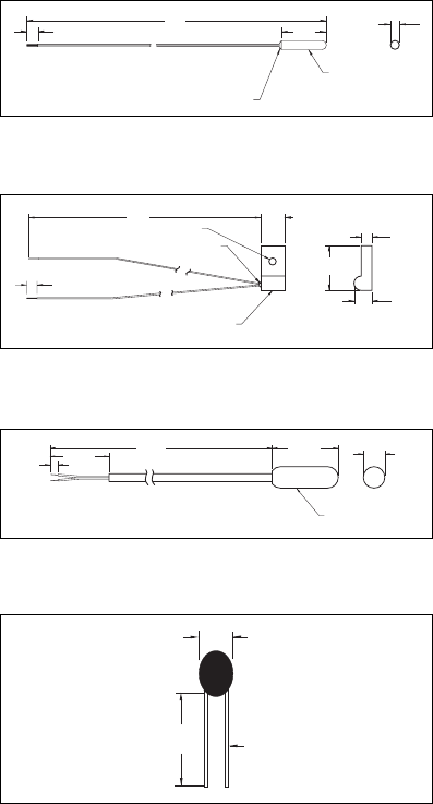
HI 76S2-4/P NTC Thermistor sensor. Molded tip with epoxy seal for
aggressive environments (5 pcs)
HI 76S2-5/P NTC Thermistor sensor. Aluminum tab with mounting
hole (4 pcs)
HI 76S2-6/P NTC Thermistor sensor. PVC encapsulated tip for pro-
tection in aggressive environments (4 pcs)
HI 76S2-7/P NTC Thermistor sensor. Can be housed and used in any
custom application (10 pcs)
6.4mm
0.25"
406mm
16"
9.6mm
0.38"
EPOXY FILLET
MOLDED TIP
2mm
0.08"
1.6mm
0.06"
4.7mm
0.19"
12.7mm
0.50"
ALUMINUM
HOUSING
EPOXY
DIA 3mm
0.12"
300mm
12"
8mm
0.31"
6.4mm
0.25"
6.4mm
0.25"
25.4mm
1.0"
300mm
12"
15.8mm
0.625"
7.1mm
0.28"
MOLDED
PVC TIP
2.4mm
0.095"
LEAD DIA
0.2mm
0.008"
38mm
1.50"










