- Grind Master Corporation Crathco Beverage Freezers Operation and Instruction Manual
Manuals
Brands
Grindmaster Manuals
Beverage Dispenser
CRATHCO 5941
31
32
33
34
35
36
37
38
39
40
Pag
e
3
6
Crathco
®
5000 Series Manual
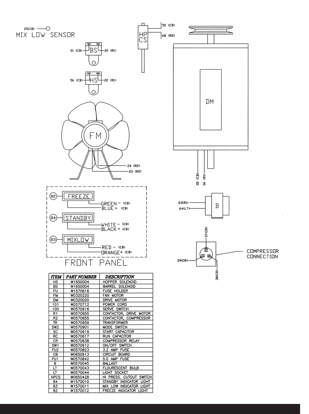
5511 Electrical Components
5511-0102-057-3-20-00
1
...
...
34
35
36
37
38
...
...
52