User's Manual
Table Of Contents

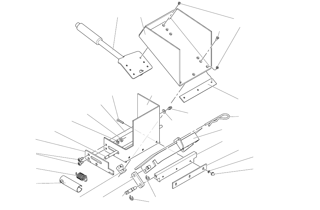
Parts
12 313880D
Parts
SmartDie
™
Screed Box
256736 - 4 in. (10 cm)
257469 - 5 in. (12 cm)
256737 - 6 in. (15 cm)
257470 - 7 in. (18 cm)
256738 - 8 in. (20 cm)
257471 - 9 in. (22.5 cm)
257472 - 10 in. (26 cm)
256739 - 12 in. (30 cm)
306
301
307
302
313
310
308
303
311
309
312
305
317317
314314
315
318
319
319
320
321
325
322
324
326
327
329
316
304
ti14562a










